У смартфонах Samsung з'явиться сканер відбитків на весь екран
Поки що технологія знаходиться на стадії патенту. Ідея технології — можливість розблокування смартфона за відбитком пальця у будь-якому місці екрана.
Повідомляється, що повноекранний сканер відбитків пальців має дебютувати у майбутній сьомій серії складаних смартфонів Samsung Galaxy Fold. Так компанія зможе виділитися на тлі конкурентів та привернути більше уваги з боку користувачів. Про те, що бренд готує інноваційну розробку, говорить недавно опублікований у мережі патент.
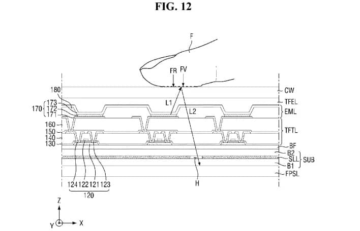
Згідно з документом, майбутні власники складаних смартфонів зможуть розблоковувати пристрої по відбитку пальця в будь-якій точці дисплея. Нині нічого подібного немає в жодного виробника — максимум, це ширша область для розблокування щодо стандартних оптичних чи ультразвукових дактилоскопічних сенсорів. В інструкції до додатку зазначається, що екран отримає шар датчика розпізнавання відбитків пальців під панеллю дисплея. Він займе всю корисну площу матриці.

Поки що технологія існує лише на папері. Коли саме її реалізують і чи справді вона з'явиться у серії Galaxy Z Fold 7 та Z Flip 7, невідомо. Однак вона виявиться дуже корисною, оскільки дозволить легше взаємодіяти зі смартфоном, враховуючи чималі габарити пристроїв, що згинаються. Нагадаємо, що нинішні Samsung Galaxy Fold використовують бічний дактилоскопічний сенсор, який не зовсім вписується у концепцію флагмана вартістю від 2000 доларів.
Ще однією причиною, чому Samsung доведеться вдатися до повноекранного відбитка пальця — зменшення товщини майбутніх «фолдів». Бічний дактилоскоп у майбутніх новинках просто не поміститься на бічній грані.
Источник: ilenta.com