Sony запатентовала очки с технологией отслеживания взгляда
Sony решила позаботиться о геймерах, которые играют в VR и носят очки для зрения.
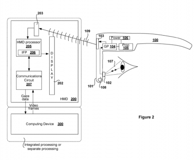
Патент подали еще в декабре 2017 года, но опубликовали его только в начале апреля уже 2019 года. Sony решила разобраться с проблемой ношения очков вместе с VR-гарнитурой с технологией отслеживания взгляда. Дополнительные линзы очков создают замыливание, отражение и прочие помехи для сенсоров, которые мешают правильным расчетам.
Решить проблему планируют с помощью очков со встроенным трекером. По задумке Sony, отслеживать взгляд будет не VR-гарнитура, а очки с датчиками. Устройство будет распознавать, надет ли на пользователя шлем, включать нужные сенсоры, а потом передавать полученную информацию в «шлем». Первое поколение PlayStation VR не получило технологию отслеживания взгляда, так что, скорее всего, патент пригодится уже для второй версии гарнитуры Sony.
Отметим, что компания уже регистрировала идеи для следующего поколения шлема виртуальной реальности. В январе 2018 года Sony засветила контроллеры для VR-гарнитуры, и технологию отслеживания движения геймпадов, которую планируют встроить в дисплей «шлема».


