Результаты поиска по сайту: «知识通api» — найдено 2074 записей
AMD называет главный недостаток архитектуры NVIDIA Maxwell
AMD называет главный недостаток архитектуры NVIDIA Maxwell ...

Графические процессоры NVIDIA с архитектурой Maxwell успели снискать серьёзную популярность, но главный конкурент компании, Advanced Micro Devices на днях назвала главный, по её мнению, недостаток новой архитектуры соперника.

Вышел Chrome 45 с блокировкой флеш-анимации и новыми функциями для разработчиков
Вышел Chrome 45 с блокировкой флеш-анимации и новыми функциями для разработчиков ...

Многократно анонсированная блокировка флеша в самом популярном браузере наконец-таки произошла. 1 сентября 2015 года состоялся релиз Chrome 45 на стабильном канале для Windows, Mac, Linux и Android. Более миллиарда пользователей интернета вздохнули с облегчением. Маленькое изменение в программе сэкономит человечеству много мегаватт-часов электроэнергии.

Новая Apple TV будет больше и дороже
Новая Apple TV будет больше и дороже ...

На большой осенней презентации, которая пройдет 9 сентября Apple покажет не только iPhone 6s. Представлена будет и новая приставка Apple TV – которая, как выясняется, будет как минимум вдвое дороже своей предшественницы.

В Nvidia требовали урезать тесты DirectX 12 в игре Ashes of the Singularity
В Nvidia требовали урезать тесты DirectX 12 в игре Ashes of the Singularity ...

Студия Oxide Games стала одной из первых команд, которая провела тестирование возможностей DirectX 12 на примере видеоигр. В результате тестов выяснилось, что видеокарты AMD работают с новой версией API на 70% быстрее, в то время как графические адаптеры Nvidia показывали результаты даже хуже, чем на DirectX 11.

У Windows Phone опять проблемы с Instagram
У Windows Phone опять проблемы с Instagram ...

В ноябре 2013 года на Windows Phone после продолжительного ожидания вышел официальный клиент Instagram. Приложение популярной социальной сети было запущено в статусе бета, но начало было положено — официальная программа появилась в Windows Phone Store. Однако теперь с этим ПО на «плиточных» смартфонах все равно, что без него — Instagram BETA не работает.

Разработчик из Китая удалил свой код с Github из-за давления со стороны полиции
Разработчик из Китая удалил свой код с Github из-за давления со стороны полиции ...

Известный под псевдонимом @clowwindy разработчик из Китая сообщил в комментариях на Github о том, что правоохранительные органы заставили его удалить код, выложенный на интернет-ресурсе. Эксперт является автором таких проектов, как Shadowsocks и ShadowVPN, которые позволяют обходить блокировку сайтов в интернете и, в частности, Великий китайский фаервол, пишет «Хабрахабр».

Twitter заблокировал сайты, которые сохраняли удаленные твиты политиков
Twitter заблокировал сайты, которые сохраняли удаленные твиты политиков ...

Администрация Twitter волевым решением заблокировала доступ к API для тридцати сайтов организации Open State Foundation. Каждый из этих сайтов посвящен отдельной стране, где осуществляется мониторинг публичных высказываний политиков в твиттере. Копия каждого удаленного твита сразу публиковалась здесь, потому что политики должны отвечать за свои слова. Впрочем, компания Twitter так не считает.

Бесплатные обновления до Windows 10 могут быть негативными для производителей ПК
Бесплатные обновления до Windows 10 могут быть негативными для производителей ПК ...

Корпорации Microsoft необходимо установить Windows 10 на как можно большее количество устройств, чтобы заработать на платформе в следующие несколько лет. Именно поэтому компания предлагает бесплатные обновления до Windows 10 уже существующим пользователям Windows. Подход имеет смысл для Microsoft. Но хорош ли он для рынка ПК в целом? Джерри Шен (Jerry Shen), исполнительный директор ASUSTeK Computer, в этом не уверен.

Oracle: Android «необратимо уничтожил» Java
Oracle: Android «необратимо уничтожил» Java ...

Компания Oracle усилила судебное преследование Android и обвинила Google в «уничтожении» всего рынка Java.

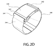
Nokia готовит умные часы с Android и свою ОС
Nokia готовит умные часы с Android и свою ОС ...

Около месяца назад мы показывали патент Nokia на несколько технологий, связанных с умными часами.