Samsung готує Galaxy TriFold із трьома батареями
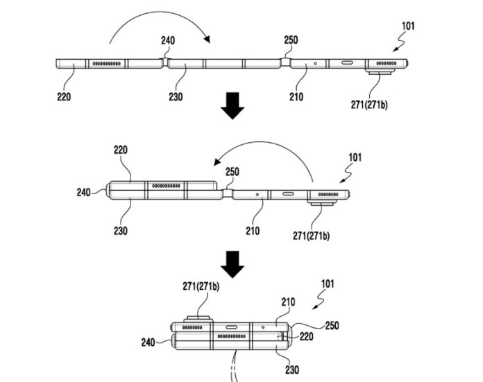
Нещодавно в мережі з’явилися патентні зображення, що демонструють новий експериментальний смартфон Samsung під назвою Galaxy TriFold. На схемах видно три окремі секції, з’єднані двома шарнірами, кожна з яких має власний акумулятор. У модулі з камерами батарея менша через обмежений простір, однак сумарна ємність усіх трьох джерел живлення, за попередніми оцінками, перевищує 5000 мА·год — більше, ніж у флагманського Galaxy S25 Ultra.
У центрі конструкції помітна система охолодження, ймовірно у вигляді випаровувальної камери, що натякає на використання потужного чипа, наприклад Snapdragon 8 Elite. Такий підхід дозволить зберегти стабільну продуктивність навіть під високим навантаженням.



Смартфон вирізняється тонким профілем у розкладеному стані та зручними габаритами у складеному форматі. Судячи з ілюстрацій, Samsung прагне знайти баланс між великим екраном для мультимедіа та компактністю у повсякденному використанні.
Хоча виробник офіційно не підтвердив розробку подібного пристрою, поява таких патентів свідчить про інтерес компанії до нових форм-факторів і потенційний розвиток лінійки складаних смартфонів за межами звичних серій Galaxy Fold і Flip.
Источник: itechua.com