Эксперты ожидают появления моноблока Microsoft в этом месяце
Слухи о том, что Microsoft готовит к выпуску десктоп собственного производства появились еще летом, предположительно, корпорация представит компьютер в конце октября. На этой неделе в базе данных Федеральной комиссии по связи (Federal Communications Commission, FCC) были опубликованы фотографии мышки и клавиатуры для нового Surface.


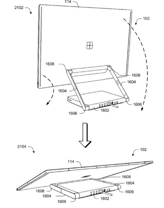
Первая информация о моноблоке Microsoft появилась в августе. На схеме запатентованной модели видно, что в блоке есть место для всех необходимых компонентов. Он также может складываться и использоваться со стилусом.

Вполне возможно, что Microsoft выпустит только клавиатуру и мышь, но прошел уже год с презентации компании, где были представлены новые продукты. В том числе, ноутбук Surface Book, планшет Surface Pro 4, смартфон Lumia 950 и другие продукты. Кроме того, компания уже продает множество аксессуаров. Таким образом, для корпорации пришло время представить новинку.