Apple работает сразу над AirPower 2
Похоже, история умного беспроводного зарядного устройства, подобного которому нет до сих пор, еще не закончилась. Называлось это устройство AirPower, его обещали в 2018 году, но 29 марта 2019, признавшись в своей неспособности “обеспечить достойный уровень качества”, Apple закрыла этот проект. Несмываемое пятно позора уже смыто временем, о нем почти не вспоминают – но Apple, похоже, не собирается мириться с позором, и работает над следующей попыткой. В 2018 устройство не вышло на прилавки, в марте 2019, когда СМИ наполнились слухами о том, что это вот-вот случится, в Apple уже знали: оно не выйдет. И что в том виде, в котором AirPower задумано (зарядное устройство – значит “оно”), оно работать не будет.
Подробнее о том, что с ним было не так, расскажу чуть позже. Никто из высшего руководства компании не был уволен, но казалось, что с инженерами и учеными провалившегося проекта никто церемониться не будет. Но в сентябре, после нескольких месяцев тишины, те же самые разработчики умного беспроводного зарядного устройства подали заявку на регистрацию изобретения в ведомство по патентам и товарным знакам США. Если бы над темой больше не работали, это было бы невозможно. В начале декабря – еще одну. Вот только первыми на этом пути они уже могут и не стать.
В октябре компания Nomad (у которой счеты с Apple, в начале века плеер этой компании был безжалостно уничтожен и выметен с рынка плеером iPod) представила миру свое умное зарядное устройство Base Station Pro, похожее на AirPower как внешне, так и по набору возможностей. Base Station Pro, как и AirPower, сможет одновременно заряжать на его коврике до трех устройств с поддержкой протокола Qi, расположенных произвольно. И так же как AirPower вплоть до 29 марта 2019 года, его пока нет. Обещают в 2020 году. Информации о цене и о точной дате выхода, естественно, пока нет. По словам Nomad, устройство справляется с обязанностями, но пока это не подтверждается фактами. В разработке устройства принимала участие компания Aira, процессами обнаружения устройств размещенных на “коврике” и зарядки управляет проприетарный алгоритм совместной разработки Nomad и Aira FreePower.
Что сотрудники Apple говорят про AirPower
Все бывшие сотрудники Apple, участвовавшие в “звездных” проектах компании, кого я знаю лично, говорят, что ничего особенного не случилось. Когда Фил Шиллер, в самых ярких красках расписывал публике AirPower в 2017, устройство было еще не готово. И на уровне технологий того времени, с точки зрения физики, оно было невозможно. Фил знал об этом, но для инженеров компании в этом не было ничего нового или необычного. Чем-то подобным они занимаются постоянно. Иногда побеждает физика, иногда – инженеры. На войне как на войне: или ты убьёшь, или убьют тебя. На этот раз победила физика. Как правило, об этих войнах не знает никто, кроме их участников и руководства компании но иногда приходится рисковать, и представлять устройство публике до окончательного выяснения его судьбы. По разным причинам, вовсе не из-за глупости или фантастической самоуверенности. Случалось это много раз, скажу только про два из них: iPhone и iPad. Они все еще могли не получиться, но нужно было рискнуть. Делают это для того, например, чтобы защитить свой приоритет на то, у чего немедленно появятся толпы непризнанных изобретателей и первооткрывателей в случае его успеха.
Про AirPower причины и мотивы известны. К 2017 беспроводные зарядные устройства уже давно перестали быть экзотикой, даже в Apple (в Apple Watch) её использовали. Для умных часов в Apple разработали проприетарную систему зарядки, несовместимую ни с одним из индустриальных стандартов, и разработали очень неплохо. Футляр AirPods использовал индустриальный стандарт Qi. Пришло время научить этому и iPhone, но был один очень неприятный политический момент: если просто добавить поддержку беспроводной зарядки в iPhone, через пять лет после того как это внедрили даже фирмы-однодневки, о которых никто уже не помнит, пошли бы разговоры про отсталую глупую Apple, про то, что эта дама с претензиями, на самом деле, только копирует созданное кем-то еще. Аналитики пришли к неутешительному выводу: в данном конкретном случае реакция СМИ сказалась бы и на престиже компании, и на её доходах.
Над тем, что в 2017 назвали AirPower, начали работать еще в 2013 или 2014. Добились обнадеживающих результатов. В 2015 или 2016 менеджеров и ведущих инженеров проекта собрали в “ратуше Apple” в старом кампусе, по адресу 4 Infinite Loop, объяснили им ситуацию и, выслушав мнения специалистов, объявили физике войну. Другими словами, повысили приоритет проекта до высшего (это приличные доплаты и привелегии, в обмен на адский изматывающий труд), и время пошло. Как всегда. Те, кто не был готов жертвовать собой, имели право отказаться. В компании много задач попроще и поспокойней, их бы просто перевели в другие подразделения. Про “жертвовать собой” не гипербола. Проекты на грани и с высшим приоритетом разрушают семьи, или не дают им возникнуть. Наносят ущерб здоровью. Иногда летальный (были и такие случаи). А когда глава компании, на презентации очередного достижения, просит его разработчиков встать и публично, чтобы это слышал весь мир, говорит им “спасибо”, значит это был один из таких проектов.

AirPower на упаковке AirPods, после отмены проекта
Риск на то и риск, чтобы иногда оборачиваться худшей стороной. Оргвыводов из неудачи с AirPower не делали, инженеры сделали больше чем могли, и ни в чем не виноваты. А Apple пострадала даже сильнее, чем об этом известно. Производство AirPower и в самом деле было запущено (в январе 2019 года), разработан дизайн упаковки и их миллионные тиражи уже были распечатаны, логистика поставок отработана до мелочей. К старту были готовы.
Когда выйдет AirPower 2
Уволенные, как считали люди со стороны, участники проекта ушли в отпуск. За несколько лет. После чего продолжили свое нелегкое дело, в привычной для них обстановке полной секретности. Но приоритет на изобретения необходимо защищать немедленно, враг не дремлет – поэтому в ведомство по патентам и торговым знакам США подаются заявки на получение патента. И крупицы абсолютно секретной информации появляются в свободном доступе. Те самые, о которых я упомянул в начале. Патентное ведомство работает очень медленно, тщательно проверяя и перепроверяя предоставленную им информацию. Оно только сейчас выдало патенты на изобретения связанные с AirPower, заявленные в период с 2016 по 2019.

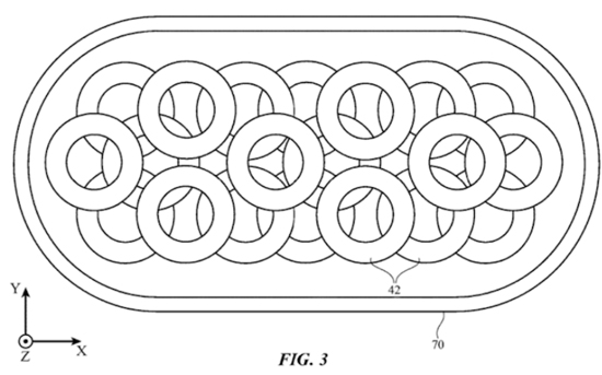
Система катушек в AirPower, иллюстрация к патенту
Последняя из них датируется 14 марта текущего года. За 15 дней до его ужасного конца. Лишь благодаря опубликованному в заявках и патентах эксперты смогли выяснить как он устроен. Apple не распространяется о технических подробностях своих устройств, особенно тех, которые еще не вышли. Все знают как должен был выглядеть AirPower, и как он должен был работать, остальное – тайна.

Иллюстрация из патентной заявки от 14 марта 2019 года, о ворсистой поверхности коврика AirPower
В Nomad Base Station Pro комплекс из 18 катушек, управляемый нейронным процессором и передовыми алгоритмами. Nomad не стала это скрывать. В Apple AirPower их должно было быть больше, до 32 штук. На иллюстрациях в заявках и патентах катушек всего 15, но это чтобы не усложнять то что и без этого сложно. В “коврике” AirPower, как и в Base Station Pro, должны были размещаться не только катушки, но и управляющая катушками система, скорее всего на основе одного чипов разработанных в Apple. Система работала бы под управлением комплекса программного обеспечения, использующего искусственный интеллект и машинное обучение для разных задач. Название у этой системы наверняка есть, но оно в заявках и патентах не раскрывается. В заявке датированной январем этого года описывается технология “магнитного зрения”, позволяющая выявлять на коврике посторонние предметы и не тратить энергию на их нагревание. Посторонним предметом может оказаться устройство с таким же чипом и системой “свой-чужой” как и в законных потребителях услуг AirPower, этот случай тоже предусматривается.

Иллюстрация из патента о системе распознавания “свой-чужой”, заявка датируется 2017 годом, патент выдан в декабре 2019
AirPower, если бы ему удалось преодолеть финишную прямую, был бы одним из самых выдающихся изделий Яблочной Империи. Всем известно, что устройство недопустимо сильно грелось в процессе работы, до опасных температур (способных нанести вред самому AirPower и заряжающимся на его коврике устройствам). А “эти недотепы” де так и не смогли с этим справиться. Управлять комплексом из близко расположенных друг к другу катушек, которые создают помехи друг другу и которых очень много непросто. Но это не единственная проблема. Уровень помех создаваемых AirPower во время работы в разы превышал допускаемые федеральной комиссией США по связи и аналогичными регулирующими органами в других стран пределы. С этим тоже не удалось справиться. Было ясно, что “надо идти другим путем”. Это цитата, но сообщать чья она и откуда я не буду.
Устройство, о котором говорится в новых заявках, почти не отличается от AirPower. Это ни о чем не говорит (конспирация), но, скорее всего, новое устройство не будет сильно другим. Данные об уровне заряда всех расположенных на коврике устройств решили отображать на устройстве с самым большим экраном. То есть, если вы положите рядом с iPhone 11 Pro любой iPhone с более крупным экраном (iPhone 11 Pro Max или аналогичный ему iPhone 12), индикация уровней заряда для всего, что заряжается, “перепрыгнет” на него. Не уверен, что это хорошо. В новом устройстве будет использована более мощная система-на-чипе, а комплекс программного обеспечения собираются радикально переделать. Особое внимание уделят безопасности и защите данных (это тема заявки от 9 декабря этого года). Наверное те, кто занимался проектом AirPower в течение нескольких лет, знают что нужно делать. Будем ждать второго пришествия. В смысле, воскрешения AirPower.