LG патентует VR-шлем с необычной «раздвоенной» конструкцией
Всемирная организация интеллектуальной собственности (World Intellectual Property Organization, WIPO) рассекретила патентную документацию LG на шлем виртуальной реальности (VR) с необычным дизайном.
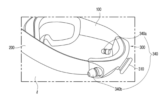
Сообщается, что особая пружинная конструкция позволяет устройству «раздваиваться», разделяясь в зоне переносицы (между дисплеями). Кроме того, у шлема отсутствует ремень крепления, обычно идущий поверх головы пользователя.
Таким образом, устройство можно носить на шее, когда оно не используется. При необходимости же его можно быстро закрепить на голове для погружения в виртуальную реальность.
Гаджет наделён наушниками-вкладышами с тонкими соединительными проводами, вытягивающимися из шлема. Это позволит использовать устройство в качестве аудиогарнитуры для прослушивания музыки: в таком режиме собственно шлем может оставаться на шее, получая сигнал по беспроводной связи, скажем, со смартфона.

Впрочем, нужно отметить, что пока необычный VR-шлем LG существует только на бумаге. Информации о возможных сроках его появления на коммерческом рынке нет.
По предварительным оценкам, в нынешнем году суммарные продажи шлемов виртуальной и дополненной реальности достигнут 13,7 млн единиц. К 2021 году объём поставок составит внушительные 81,2 млн штук. При этом вплоть до 2019 года на VR-устройства будет приходиться более 90 % в общем объёме поставок шлемов.