Apple регистрирует патент на стилус для iPad Pro
В последнее время циркулирует очень много слухов относительно 12,9-дюймового iPad Pro, в том числе и о том, что планшет может быть оснащён большим дисплеем с сапфировым стеклом, модулем NFC и технологией Force Touch. Вчера же в сеть попала информация о том, что Apple подала на регистрацию патентную заявку на сенсорный датчик с расширенной функциональностью. На самом деле речь идёт о стилусе. Учитывая тот факт, что в комплекте с некоторыми планшетами увеличенных размеров идёт стилус, не исключено, что и Apple решила использовать его со своей новинкой. Бюро по регистрации патентов и торговых марок США на этой неделе опубликовало патент US2015138128, в котором говорится о стилусе, имеющем несколько датчиков, благодаря которым он сможет наилучшим образом имитировать движение человеческих пальцев при взаимодействии с экраном устройства.
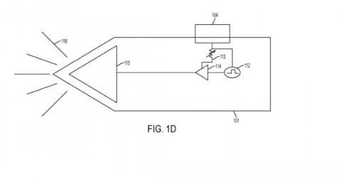
Apple считает, что когда палец (или какая-либо другая часть тела) касается ёмкостного дисплея, он может "затормозить" на его поверхности, чего не произойдёт при использовании стилуса. Для того чтобы ввод стилусом стал максимально похож на касание пальцами экрана, компания и встроила в него несколько сенсоров, способных обнаруживать такие переменные, как угол наклона и расстояние.
В патенте также упоминается датчики захвата и давления, а также тензодатчик, способный определять силу нажатия. Также, по аналогии с S Pen от Samsung, стилус от Apple может получить одну или несколько аппаратных кнопок.

К слову, это не первый патент Apple, который намекает на использование стилуса с устройствами компании и который показывает, что сейчас купертиновский гигант не боится тестировать идеи, против которых всегда был Стив Джобс. Под руководством Тима Кука Apple начала производить большие смартфоны и небольшие планшеты, и, если судить по результатам продаж iPhone 6 и 6 Plus, Кук принял правильное решение, выпустив подобные девайсы.
При запуске самого первого iPhone Джобс саркастически заметил:
Кому вообще нужен стилус? Вы возьмёте его, отложите в сторонку и в итоге потеряете. Да-да! Никому не нужен стилус. Давайте не будем его использовать.
Тем не менее последний патент, а также несколько предыдущих, показывают, что Apple как минимум всерьёз рассматривает идею такого нововведения. Однако вполне может быть, что именно этот патент в итоге найдёт применение в продукции компании.