Результаты поиска по сайту: «как на» — найдено 122894 записей
Создатель Cortana рассказала о работе над проектом
Создатель Cortana рассказала о работе над проектом ...

Создателем голосового помощника Cortana в Windows Phone 8.1 оказалась милая девушка Сьюзан Хендрич (Susan Hendrich). В своем интервью на microsoftjobssblog.com она рассказала о том, как шла работа над проектом. Сьюзан занимает в Microsoft пост ведущего программного руководителя и считает себя ответственной за то, как выглядит Cortana (синий кружок), за ее характер и манеры поведения.

Северокорейский клон OS X появился в открытом доступе
Северокорейский клон OS X появился в открытом доступе ...

Последнюю версию национального Linux-дистрибутива Северной Кореи Red Star Linux 3.0 впервые открыли для публичного доступа. Предыдущая сборка операционной системы во многом походила на Windows, тогда как в третьей итерации интерфейс оболочки как под копирку срисован с OS X.

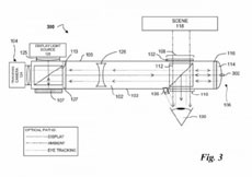
Google патентует технологию отслеживания взгляда
Google патентует технологию отслеживания взгляда ...

Несколько месяцев назад компания Google объявила о том, что планирует полностью переделать Google Glass, а возглавит рабочую группу над этим проектом Тони Фаделл.

Старт продаж HTC One M9 отложен
Старт продаж HTC One M9 отложен ...

HTC пришлось отодвинуть начало продаж флагмана One M9 на пока не объявленный срок. Смартфон уже сегодня должны были отправить первым тайваньским покупателям, но им придется ждать важного обновления.

Samsung Galaxy S4 получит Android 5.0 Lollipop в начале следующего года
Samsung Galaxy S4 получит Android 5.0 Lollipop в начале следующего года ...

Ресурс SamMobile подтвердил, что прошлогодний флагман компании Samsung Galaxy S4 получит обновление до Android 5.0 Lollipop. Это довольно ожидаемое заявление с учётом 18-месячного цикла поддержки устройств, в рамках которого работает корейский производитель. Кстати, это уже третье мажорное обновление Galaxy S4 после обновления до Android 4.3 и 4.4. Напомним, что изначально Samsung Galaxy S4 поставлялся с предустановленной системой Android 4.2 Jelly Bean.

Тим Кук вошел в список 100 самых влиятельных людей мира
Тим Кук вошел в список 100 самых влиятельных людей мира ...

16 апреля американский журнал Time опубликовал список 100 самых влиятельных людей мира. В нем традиционно присутствуют видные политические и государственные деятели, спортсмены, люди искусства. В рейтинг Time 2015 года был включен генеральный директор Apple Тим Кук. Он входит в категорию Титаны вместе с рэпером Каье Уестом, бизнес-вумен Меллоди Хобсон, актером Лорном Майклзом и другими людьми, которых в иной ситуации невозможно представить в одной компании.

HP представила свой первый ноутбук с разъёмом USB-C
HP представила свой первый ноутбук с разъёмом USB-C ...

Небольшой симметричный стандарт постепенно начинает популярность в устройствах, уже появившись в новых моделях Apple MacBook и последнем хромбуке от Google. Теперь к этому списку добавляется компания Hewlett-Packard с новой моделью ноутбука Pavilion x2, заряжать который можно будет как раз через USB типа С.

Найден веселый способ «подвесить» iPhone, Android и ПК
Найден веселый способ «подвесить» iPhone, Android и ПК ...

В WhatsApp обнаружена ошибка, позволяющая вызвать свой в работе приложения на устройстве адресата путем отправки ему большого количества смайликов.

Топ-менеджер Western Digital дезертировал к злейшему конкуренту
Топ-менеджер Western Digital дезертировал к злейшему конкуренту ...

Вице-президент Western Digial Мэтт Ратлидж после 20 лет работы в компании ушел к Seagate — главному конкуренту WD на мировом рынке жестких дисков.

Наследник HTC One получит камеру со сменными линзами
Наследник HTC One получит камеру со сменными линзами ...

Для HTC 2013 год был не самым удачным, но надеемся, что компания сделает выводы из своих ошибок и не допустит их при выпуске своего будущего флагмана HTC One 2, известного также как HTC M8. Согласно свежей информации одного из тайваньских источников, новинка получит камеру со сменными линзами.