Результаты поиска по сайту: «iPhone» — найдено 34339 записей
Концепт 4,5-дюймового iPhone 6 в стиле iPad Air
Концепт 4,5-дюймового iPhone 6 в стиле iPad Air ...

Известный создатель концептов «яблочной» электроники Артур Рейз подготовил модель телефона Apple следующего поколения. Собственный вариант грядущего девайса художник не долго думая назвал iPhone 6.

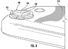
Apple запатентовала сменные объективы для iPhone
Apple запатентовала сменные объективы для iPhone ...

Солидный список патентов американской корпорации Apple пополнился еще одним.

Apple проиграла бразильцам спор за права на слово "iPhone"
Apple проиграла бразильцам спор за права на слово "iPhone" ...

Бразильский регулятор INPI (Instituto nacional da propriedade industrial, Национальный институт промышленной собственности) отказал Apple в правах на торговую марку iPhone, сообщает Agence France-Presse.

iPhone 5S получит обновленный процессор и новую камеру
iPhone 5S получит обновленный процессор и новую камеру ...

Тайваньское интернет-издание Digitimes со ссылкой на свои источники сообщило, что запланированный к выходу смартфон iPhone 5S получит обновленный микропроцессор и более высококачественную камеру. Ссылаясь на источники в среде поставщиков смартфонных компонентов, Digitimes отмечает, что iPhone 5S будет лишь "немного усовершенствованной" версией iPhone 5.

Продажи iPhone в Индии поднялись на 400%
Продажи iPhone в Индии поднялись на 400% ...

Apple рассматривает Индию как один из очень перспективных рынков и их прогнозы сбываются. Индийское издание Economic Times сообщило, что запущенные Apple в Индии программы равных ежемесячных платежей, то есть рассрочки и выкупа устройств (кэш-бэк) подстегнули продажи iPhone, которые ранее составляли от 70 до 80 тысяч устройств в месяц.

iPhone 5S будет в дефиците на старте продаж
iPhone 5S будет в дефиците на старте продаж ...

Одной из главных особенностей еще не анонсированного iPhone 5 может стать сканер отпечатков пальцев, который позволит увеличить уровень защищенности смартфона от Apple.

Куда уходят старые iPhone
Куда уходят старые iPhone ...

Каждый iPhone имеет шанс прожить долгую и насыщенную жизнь. Новейшая модель, произведенная в Китае на заводе Foxconn, отправляется на Запад, а потом — возвращается обратно. О жизненном цикле iPhone рассказал ресурсу Business Insider глава компании Gazelle, занимающейся скупкой подержанных смартфонов.

Опубликованы фото iPhone 5C зеленого цвета
Опубликованы фото iPhone 5C зеленого цвета ...

В сети продолжают появляться фотографии бюджетного смартфона iPhone в нетрадиционных для аппаратов Apple цветах. На этот раз на качественных снимках запечатлен зеленый вариант iPhone 5C. До этого появлялись фото iPhone красного и белого цветов.

Samsung получила заказ на выпуск 4-ядерных процессоров Apple A8 для iPhone 6
Samsung получила заказ на выпуск 4-ядерных процессоров Apple A8 для iPhone 6 ...

Samsung, вопреки ожиданиям, не лишилась возможности по конкурентным соображениям выпускать процессоры для iPhone, а получила крупный заказ на производство мобильных чипов A8. По крайней мере об этом сообщает корейское издание ZDNet, которое ссылается на информированные источники в компании.

iOS .1 установили на 6 процентов iPhone и iPad
iOS .1 установили на 6 процентов iPhone и iPad ...

Новую версию операционной системы iOS 7.1 за первые сутки установили 6 процентов владельцев мобильных устройств, с которыми совместима обновленная программная платформа. Об этом сообщает РИА Новости со ссылкой на данные аналитической компании Chitika.