Apple запатентовала сменные объективы для iPhone
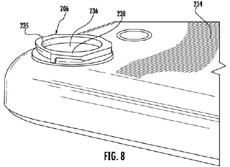
Солидный список патентов американской корпорации Apple пополнился еще одним. Бюро по регистрации патентов и торговых марок США одобрили патент, в котором повествуется о системе крепления отдельных объективов к встроенной в iPhone камере для улучшения качества снимков или их свойств. По сути, если просто, то в патенте описывается система аналогичная Olloclip и прочим съемным объективам, которые заполонили рынок.

В патенте рассказывается о нескольких системах крепления таких сторонних объективов. Первый – механический, которые позволит объективу плотно держаться на камере. Второй – магнитный, чем-то напоминающий крепление кабеля питания к компьютерам MacBook (MagSafe). Сразу сообщим, что Apple, судя по заявке, отдает предпочтение именно первому варианту.
В патенте также описывается некоторое количество своеобразных переходников, которые помогут прикрепить к iPhone, практически, любой объектив вплоть до профессионального.