Загальна істерія. Apple подала патент на смартфон із гнучким дисплеєм
Управління патентами та товарними знаками США надало виробнику iPhone кілька нових патентів, один із яких стосується виробництва складних гаджетів з екраном-водоспадом.
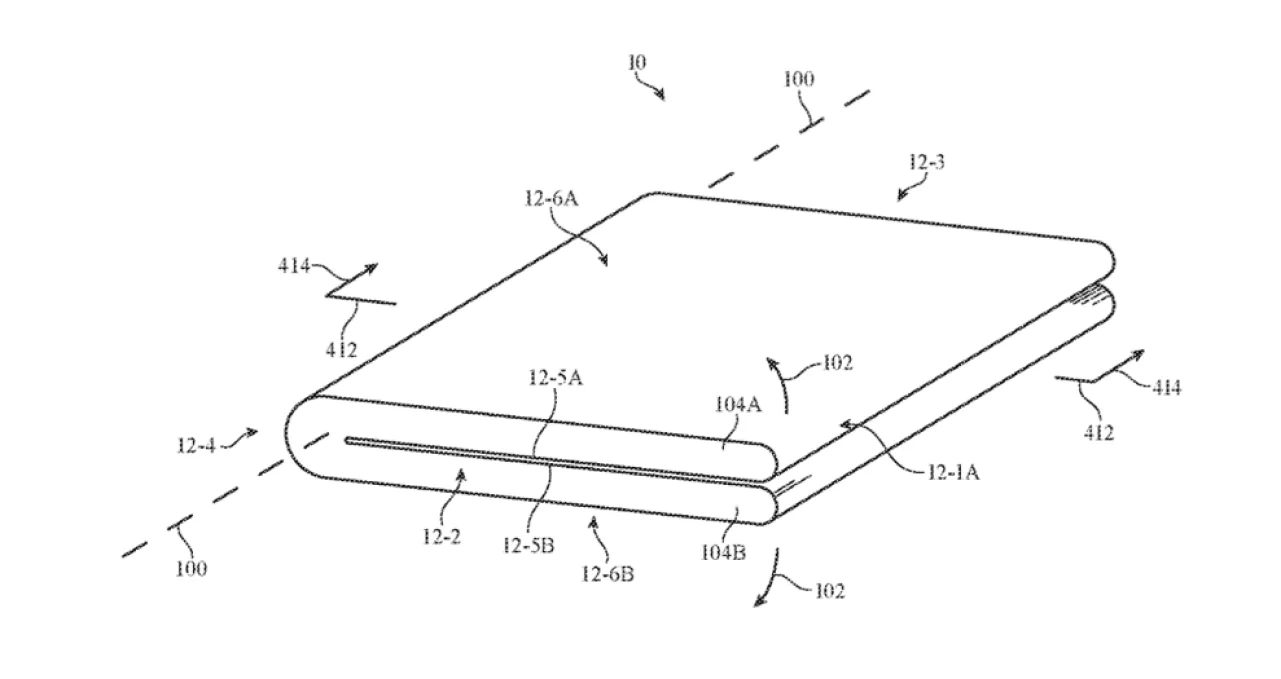
Apple подала на них у квітні минулого року — лише через кілька місяців після появи чуток про те, що Apple працює над якимось складним iPad.

Згідно з анотацією до патенту, сенсорні датчики на пристрої можуть розташовуватися під склом вздовж передньої, нижньої та бічних поверхонь пристрою. Це вказує на те, що Apple може створити гаджет із можливістю вводу на кожному його сантиметрі. Поки що незрозуміло, наскільки практичним буде це рішення, адже носити чохол на такому смартфоні чи планшеті не можна, а отже, з ним потрібно буде поводитися обережно.
Apple заявляла, що сенсорні датчики на задній панелі можна використовувати в ігрових застосунках, що дозволить не закривати екран при виконанні дії.
У патенті згадується, що бічні сенсорні датчики можуть використовуватися для керування камерою, повзунком гучності, яскравістю та контрастністю.
Оформлення патенту не завжди є стовідсотковим доказом роботи над створенням описаних у ньому технологій, але гарна новина в тому, що Apple принаймні розглядає можливість створення пристрою з незвичайним форм-фактором.