Xiaomi придумала смартфон с боковым сканером отпечатков в загнутом дисплее
Китайская компания Xiaomi, по сообщению ресурса 91mobiles, может выпустить смартфон с весьма необычным исполнением дактилоскопического сканера для снятия отпечатков пальцев.
Описание аппарата появилось на сайте Управления США по патентам и торговым маркам. Заявка на регистрацию разработки была направлена в марте прошлого года, а обнародован документ в текущем месяце.

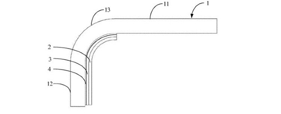
Xiaomi размышляет над смартфоном, у которого дисплей будет загибаться на боковые части корпуса. И именно на боковой грани компания намерена расположить сканер отпечатков пальцев.
Дактилоскопический сенсор будет спрятан непосредственно за загнутой частью экрана. По всей видимости, сам дисплей будет выполнен по технологии AMOLED.

Прочие технические детали о смартфоне не раскрываются. Но, судя по всему, Xiaomi проектирует некую модель премиального уровня. Сведений о возможных сроках появления устройства на коммерческом рынке на данный момент нет.