В Сеть попало новое фото Lightning-кабеля Apple с двухсторонним коннектором USB
В пятницу азиатские источники подтвердили намерения Apple по выпуску Lightning-кабеля для мобильных устройств iPhone и iPad с двухсторонним коннектором USB, опубликовав фотографии будущего аксессуара. Сегодня об этом написал блогер Сонни Диксон, ранее уже выдававший правдивые инсайды относительно будущих новинок Apple.
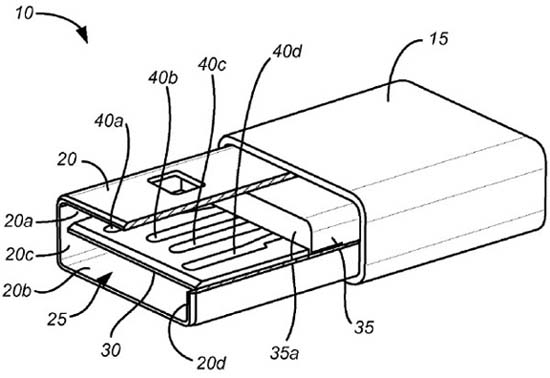
Диксон выложил снимок, на котором запечатлён фирменный Lightning-коннектор Apple, отличающийся от представленного ныне аксессуара двухсторонним USB-коннектором. На фото можно видеть два штекера – обычный и новый. Интересно, что представленный на изображении аксессуар похож на тот, что был изображён в приложении к патенту, полученном Apple в июле этого года.
Рабочие поверхности нового USB-коннектора симметричны, что позволяет подключать его любой стороной. Представленный в 2012 году Lightning-кабель, как известно, также является двухсторонним.
В недавнем патенте Apple описала конструкцию двухстороннего USB-коннектора, который можно вставлять в гнездо любой стороной. В документе говорится, что изобретение «может уменьшить риск повреждения разъема и раздражение пользователя вследствие неправильного подключения штекера USB в гнездо».

Когда будет выпущен Lightning-кабель для мобильных устройств Apple с двухсторонним USB-коннектором, Диксон не уточняет. Не исключено, что анонс кабеля состоится грядущей осенью в рамках презентации iPhone 6 и других «яблочных» новинок.