В Samsung придумали необычный смартфон, гнущийся в разные стороны
Управление США по патентам и торговым маркам (USPTO) выдало компании Samsung патент на «Устройство с дисплеем» (Display device). Под этим лаконичным названием скрывается весьма любопытный смартфон, оборудованный гибким экраном.
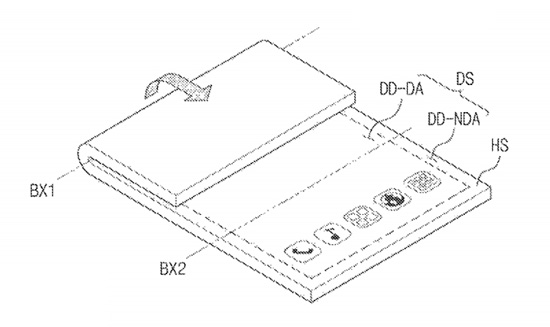
В разложенном состоянии гаджет выглядит как обычный сотовый аппарат моноблочного типа. Взаимодействовать с крупным экраном пользователи смогут традиционным способом.

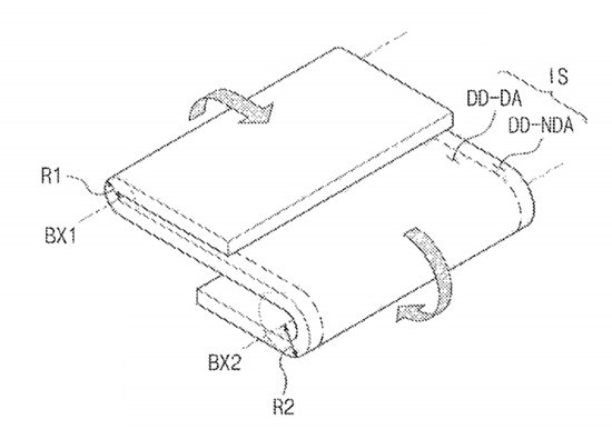
Как можно видеть на патентных иллюстрациях, конструкцией предусмотрены две линии сгиба — в верхней и нижней областях устройства. Таким образом, может быть закрыта верхняя или нижняя секция, а изображение при этом будет демонстрироваться в оставшейся части дисплея.


При необходимости можно сложить сразу обе секции — в таком состоянии экран будет полностью скрыт. Более того, по задумке южнокорейского гиганта поворачиваться части смартфона смогут на 180 градусов как вперёд, так и назад, что позволит реализовать различные режимы использования.


Впрочем, как это часто бывает в случае нестандартных разработок, сейчас показанное на изображениях устройство существует только в патентной документации. Собирается ли Samsung претворить идею в жизнь, не ясно.
