В патенте Microsoft описывается интерфейс "умных" очков Kinect Glasses
Пока непонятно, станем ли мы все вскоре носить Google Glass, или этот продукт будет востребован только в среде гиков. Тем не менее, слухов о том, что другие компании тоже готовят свои "умные" очки, полно. Недавно в Microsoft подали заявку на патент, которая, похоже, описывает интерфейс Kinect Glasses.

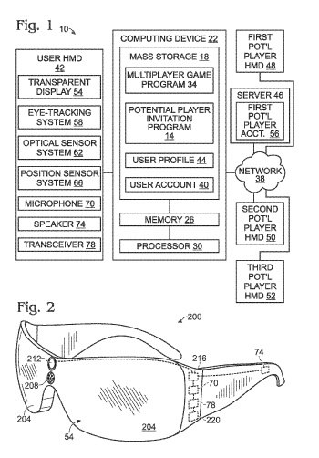
В заявке описана многопользовательская система, которая позволяет приглашать других пользователей в игру с помощью носимого дисплея — то есть, очков. На иллюстрации изображены очки, в которые встроены сенсоры для определения позиции пользователей, для отслеживания жестов, а также для определения пространства, в котором находится пользователь. Жесты применяются для того, чтобы приглашать людей в игру, просто указав на человека пальцем.

Информация о Kinect Glasses ("проект Fortaleza") появилась в прошлом году. Согласно "утечке" информации, очки были оснащены Wi-Fi и 4G и были предназначены для тех же целей, что и Google Glass. Согласно плану, они должны появиться в 2014 году после запуска в продажу приставки Xbox One.