В новых iPhone качество фронтальной камеры будет таким же, как у основной
Первоначально этот патент был подан ещё в 2013 году от лица Apple и изобретателя Нин Ю Чана (Ning Y. Chan), но только сегодня стали известны основные подробности изобретения.
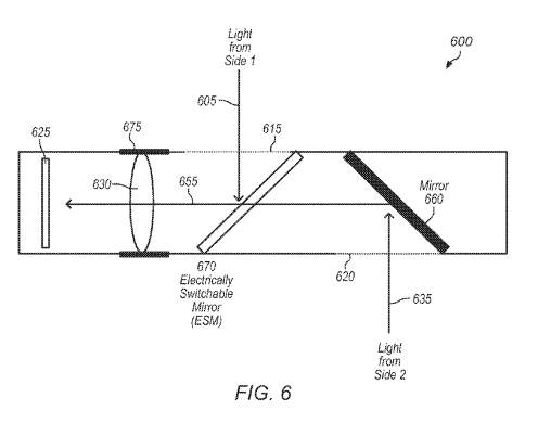
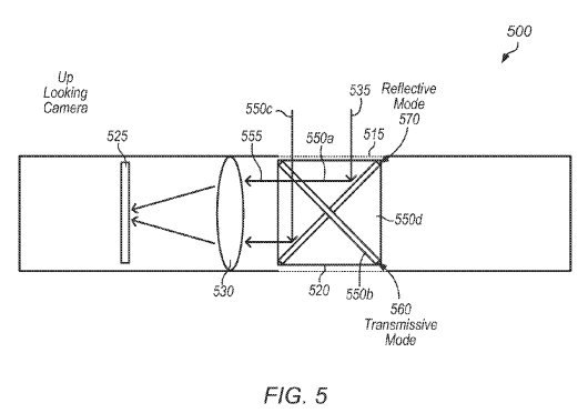
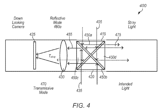
Главной идеей новой системы камер стала возможность объединить свет, поступающий через затвор фронтальной и основной линзы, на единственный сенсор. В сегодняшних iPhone, iPad и iPod для передней и задней камеры используется раздельные системы захвата изображения, поэтому качество фотографий сильно разнится. Новый метод позволит объединить устройства захвата двух камер и получать с каждой из них одинаково хорошие снимки.

Чтобы добиться такого эффекта, будут использованы линзы и зеркала, имеющие свойство менять структуру под воздействием электричества. Они могут быть как прозрачными, так и отражающими свет. Патент предполагает, что благодаря изменению состояния этих и некоторых других деталей, свет из двух или большего количества источников будет попадать на единственный в устройстве сенсор.

Также говорится о том, что подобные системы камер избавятся от большинства движущихся частей. Это позволит уменьшить их размеры и удешевить производство. Как мы можем наблюдать в последней версии iPhone, камеры действительно стали слишком громоздкими и уже не влезают в тонкие корпуса смартфонов, поэтому новая технология будет удачно вписываться в новый сверх-тонкий дизайн будущих продуктов Apple.

Следует отметить, что в документе указаны несколько вариантов реализации технологии, так что даже инженеры пока не могут точно сказать как именно будут работать новые камеры в iPhone.