В iPhone появится проектор
На рынке уже достаточно давно представлены телефоны с проекторами, а также отдельные портативные проекторы для мобильных устройств. Сейчас такие телефоны далеки от идеала, но в недалеком будущем Apple сможет изменить ситуацию.
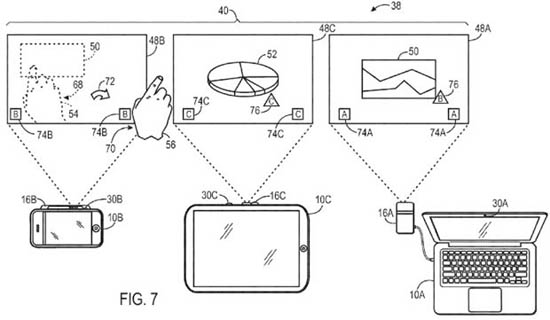
Бюро по патентам и товарным знакам США выдало Apple весьма любопытный патент, в котором описывается применение проектора в iустройствах. В одной из реализаций данной технологии маленький проектор встраивается в смартфон или планшет вместе с камерой. С помощью проектора мобильное устройство сможет отображать несколько дисплеев различных устройств одновременно, а камера будет распознавать движения рук. Пользователь получит возможность жестами перемещать изображения и другие мультимедийные данные с одного проецируемого экрана на другой.

Проектор в мобильном устройстве может оказаться полезным в разных сферах деятельности: ведение презентаций, просмотр мультимедиа, интерактивные развлечения. Однако, ожидать совсем уж скоро внедрения данной технологии в iустройства не стоит.