В Samsung придумали гаджет со скручивающимся в трубку дисплеем
Не секрет, что Samsung экспериментирует с гибкой электроникой и планирует выпуск мобильных устройств, способных к деформации. На днях южнокорейский гигант получил очередной патент в данной области.

Документ, опубликованный на сайте Управления США по патентам и торговым маркам (USPTO), носит название «Скручивающийся дисплей» (Rollable display). Заявка на изобретение была подана ещё в мае 2015 года, а сам патент датируется 13 декабря 2016-го.

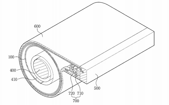
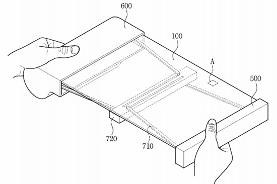
Конструкция предложенного устройства включает основной модуль в виде цилиндра, в который прячется скручивающийся экран. Для вытягивания гибкой панели служит специальный захват. При этом в развёрнутом виде дисплей остаётся плоским благодаря особой системе складных направляющих (см. иллюстрации).

Очевидно, что цилиндрическая часть гаджета может содержать основные электронные компоненты — микропроцессор, чипы памяти, контроллеры беспроводной связи и пр. Скручивающийся сенсорный дисплей сможет поддерживать сенсорное управление.
Впрочем, пока компания Samsung лишь запатентовала гаджет необычной конструкции. Сроки возможного появления подобного устройства на рынке не озвучиваются.