В Apple придумали, как сделать вечными кнопки в смартфонах и планшетах
Специалисты компании Apple нашли способ продлить срок службы кнопок, слотов и других элементов iPhone и iPad. Вместо механических компонентов в Купертино намерены эффективно использовать силу магнитов.
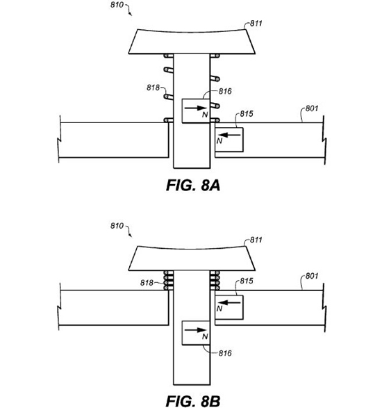
Как известно, магниты, сближаемые одноименными полюсами, отталкиваются, а разноименными — притягиваются. Данный эффект будет использоваться для фиксации различных механизмов в смартфонах и планшетах, а также формирования тактильного отклика, свидетельствует патентная заявка Apple, опубликованная накануне Бюро патентов и торговых марок США.

В Apple решили, что если разместить в разных местах механизма пару или несколько пар магнитов, можно добиться, чтобы его работа сопровождалась тактильным откликом. Кроме того, таким же способом можно сделать механизм защелкивающимся.
Обычно тактильный фиксация кнопок и отклик обеспечиваются механически. Согласно патентной заявке магнитами можно воспроизвести ощущения, сопровождающие использование полностью механической системы. На иллюстрации Apple приводит главную клавишу смартфона iPhone.

Изобретение Apple может найти применение в кнопках, клавишах слотах для карт и других органах управления мобильных устройств. Отказ от механических элементов внутри гаджетов увеличит надежность и продлит срок службы iPhone, iPad и других продуктов компании.