Устройства Apple могут получить встроенные проекторы
Три года назад Apple уже патентовала технологии, связанные с проекторами. После длительного затишья на сайте Бюро патентов и торговых марок США появились новые свидетельства того, что компания все же продолжает двигаться в этом направлении.
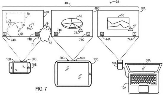
В патенте описывается изобретение, которое называется «Общие рабочие пространства на проецируемом дисплее», рассматривается технология, предполагающая интеграцию в iOS-устройства компактных проекторов. Это позволит пользователям демонстрировать друг другу визуальную информацию со своих гаджетов и управлять презентациями при помощи жестов.

Технология использует встроенную камеру, которая распознает тени и силуэты, создаваемые жестами на проецируемых участках. Также будет поддерживаться отображение сразу с нескольких устройств. Это означает, что с использованием жестов пользователи могут делиться и обмениваться изображениями, проецируемыми с нескольких гаджетов.
Конечно, сегодня существует уже множество аксессуаров, способных превратить ваш iPhone в миниатюрный проектор. Однако если Apple сама захочет реализовать эту технологию в своих устройствах, да еще и дополнить ее полезными программными функциями, нет никаких сомнений, что с помощью таких инструментов мы сможем сделать нечто большее, чем просто выводить на стену картинку с экрана телефона.