«Умные» наушники Apple смогут автоматически управлять музыкой
На фоне новости о покупке Apple производителя аудиоаппаратуры Beats Electronics довольно любопытной выглядит новая патентная заявка компании на «умные» наушники EarPods. Устройство сможет самостоятельно включать и выключать музыку, в зависимости от того, надел их пользователь или наоборот снял.
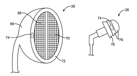
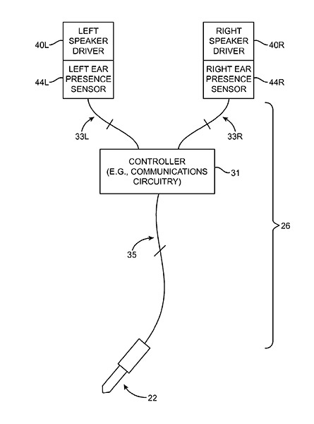
Две новые патентные заявки, опубликованные в четверг Бюро патентов и торговых марок США, называются «Определение присутствия в наушниках с шумоподавлением» и «Электронные устройства и аксессуары с функциями управления воспроизведением». В документах Apple описывает гарнитуру для iPhone и iPod, обладающую набором так называемых датчиков присутствия. Наушники смогут определять, когда пользователь надевает их на голову и управлять воспроизведением музыки.
В патенте Apple приводит ситуации, когда пользователь iOS-устройства вынимает из ушей оба наушника – в этот моменты плеер ставит музыку на паузу; если же человек надевает наушники – воспроизведение продолжается. Это позволит сэкономить заряд аккумулятора и мобильный трафик при прослушивании онлайн-радио.

Примечательно, что система предусматривает раздельное управление аудиоканалами. Так, если пользователь вынул из уха только один наушник, музыка не будет выключаться полностью, но сигнал не будет поступать по одному из каналов.
К слову, это не первый патент Apple на «интеллектуальные» наушники. В заявке, обнародованной в начале мая, описывается модель со встроенными биометрическими сенсорами, способными определять температуру тела, пульс, степень потоотделения, отслеживать передвижения пользователя и его активность. Способы интеграции сенсоров также указаны для наушников-вкладышей.

Патенты на новую технологию были зарегистрированы Apple в ноябре 2012 года. Тем не менее, только сейчас технологические возможности действительно дошли до точки, позволяющей грамотно реализовать эту идею.