Техника Apple освоит язык жестов
Смотрели «Звездные войны»? Хотя бы одну часть? Если да, то вам знаком метод управления чужим разумом при помощи жестов. Возможно, в будущем (не обязательно далеком-далеком) его смогут освоить владельцы техники Apple. Правда, влиять они будут не на слабые умы, а на технику.
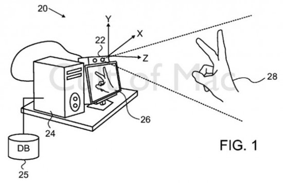
Американская компания запатентовала технологию распознавания жестов на расстоянии (патент № 9002099). Она позволяет с высокой точностью определить положение руки и пальцев, а затем сравнить полученную информацию с базой данных, в которой содержится описание того или иного жеста.

Технология была разработана специалистами израильской компании PrimeSense, которая создала Kinect для Xbox 360. Apple купила ее в конце позапрошлого года, но с тех пор так и не рассказывала, с какой целью. Очевидно, опыт PrimeSense пригодится для создания устройств с жестовым управлением.
У Apple уже есть технология под названием Force Touch. Если компания начнет выпускать устройства, которыми можно будет управлять на расстоянии, то и здесь в названии стоит использовать слово «Force». Поклонники «Звездных войн» точно оценят.