Следующая консоль Nintendo может состоять из нескольких экранов
Компания Nintendo славится своими инновационными игровыми консолями. В описании нового патента описывается, возможно, следующая игровая консоль, которая проходит под названием Game System.

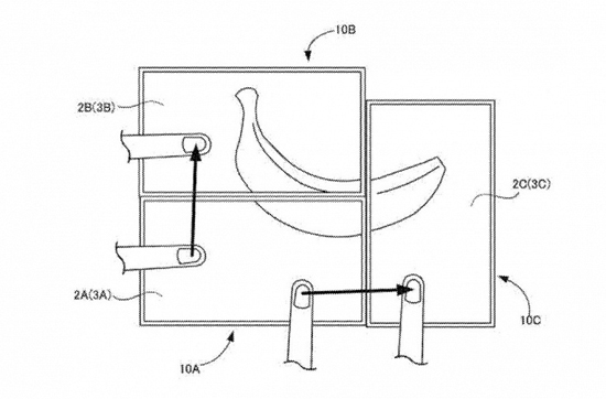
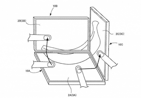
Судя по описанию и изображениям, которые стали доступны в Сети, новая игровая систем Nintendo будет состоять из нескольких сенсорных экранов, соединяющихся между собой свободным образом.

Каждый дисплей может функционировать как самостоятельное устройство, но в зависимости от игры и сценария использования экраны можно будет соединять, причем не только в плоскости, но и трехмерном пространстве, как показано на картинках.

Экраны будут оснащены гироскопами, поэтому управлять можно будет не только, прикасаясь к дисплеям, но и меняя их положение в пространстве. Например, наклонив экран, можно заставить покатиться шар и так далее.

Возможно, какие-то подробности об устройстве нам расскажут на выставке Е3 в июне.