Сканер Touch ID в iPhone 8 будет работать по-другому
В Сети ходит множество слухов о встроенном в дисплей нового iPhone 8 сканере отпечатков пальцев. Однако немногие утечки уделяют внимание тому, как будет реализована эта технология.
Юбилейный флагман Apple перейдет на использование OLED-дисплеев, что отразится не только на времени автономной работы смартфона, но и на датчике Touch ID.
В моделях с iPhone 5s по iPhone 7 применяется технология, разработанная AuthenTec, которую компания Apple купила в 2012 году. AuthenTec занималась системами биометрической защиты и именно ее технологии стали использоваться в «яблочных» устройствах.
iPhone активирует дактилоскопический датчик, как только палец оказывается в детекторном кольце. Сам сенсор защищен тонким сапфировым стеклом и использует емкостный КМОП-датчик для сканирования подушечки пальца с разрешением 500 ppi. Полученный отпечаток сравнивается с данными, хранящимися в Security Enclave. Если они совпадают, смартфон разблокируется.
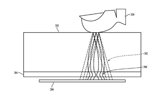
Проблема с iPhone 8 состоит в том, что биометрический модуль должен быть встроен в дисплейную панель. Сенсор модуля имеет толщину 170 мкм, а сапфировое покрытие немного толще. Одно из преимуществ OLED-панели — небольшая толщина относительно LCD. Но, несмотря на это, она более чем в 5 раз толще по сравнению с сапфировым покрытием.

При увеличении расстояния между контактной поверхностью и чувствительной матрицей возникает размытие электрического поля пальца, зафиксированного Touch ID. В существующей реализации покрытие достаточно тонкое, чтобы достичь минимального искажения. Если такой же сканер отпечатков пальцев поместить под экранное стекло в iPhone 8, точность распознавания резко снизится.
Если Apple компенсирует это программным путем и увеличит возможное отклонение сканированного отпечатка от того, что хранится в памяти устройства, то это может привести к проблемам с безопасностью.

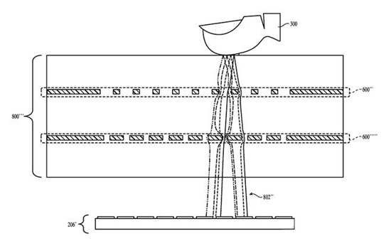
Ранее Apple зарегистрировала патент на сенсорный датчик, использующий множество электростатических линз. Через эти линзы электрическое поле от пальца пользователя может передаваться к сенсору, встроенному в стекло, практически без искажений. Даже небольшая разница в микронах может негативно отразиться на точности распознавания и безопасности, поэтому реализация этой технологии потребует много времени и усилий.
По слухам, именно интеграция сканера отпечатков в дисплей iPhone 8 может стать причиной задержки выхода смартфона. Некоторые аналитики полагают, что Touch ID может переместиться на заднюю панель устройства, если Apple не удастся решить проблему.