Результаты поиска по сайту: «как на» — найдено 122891 записей
В Таиланде накрыли бот-ферму из 474 iPhone и 347 000 неиспользованных SIM-карт
В Таиланде накрыли бот-ферму из 474 iPhone и 347 000 неиспользованных SIM-карт ...

Тайская полиция нагрянула в жилой дом, в котором трое китайцев организовали бот-ферму на сотнях реальных устройств. На железных стеллажах нелегалы с истекшей визой разместили 474 смартфона Apple: iPhone 5S, 5C и 4S. Они были подключены к десятку компьютеров, с которых и управлялись.

Шлем виртуальной реальности Samsung Odyssey не появится в Европе
Шлем виртуальной реальности Samsung Odyssey не появится в Европе ...

Компания Samsung в начале октября представила свой первый шлем виртуальной реальности на платформе Windows Mixed Reality от Microsoft.

Два популярных смартфона Huawei Honor обновят до Android 8.0 Oreo
Два популярных смартфона Huawei Honor обновят до Android 8.0 Oreo ...

Вместе с флагманскими смартфонами Huawei Mate 10 и Mate 10 Pro миру была представлена операционная система EMUI 8.0, работающая на базе Android 8.0 Oreo.

Растущий OLED-бизнес поможет LG Display
Растущий OLED-бизнес поможет LG Display ...

Высокий спрос на OLED-панели для телевизоров способствует росту продаж этой продукции у LG Display.

Halo Wars 2 получит поддержку кроссплатформенной игры и улучшения для Xbox One X
Halo Wars 2 получит поддержку кроссплатформенной игры и улучшения для Xbox One X ...

Microsoft и 343 Industries объявили, что стратегия Halo Wars 2 получит на Xbox One X ряд визуальных улучшений, доступных сразу после выхода консоли на рынок. В частности, обещано, что игра будет поддерживать исполнение в разрешении 4K и HDR и в этом плане будет полностью соответствовать версии для Windows 10.

Bethesda наконец-то показала геймплей DOOM Eternal
Bethesda наконец-то показала геймплей DOOM Eternal ...

На конференции QuakeCon 2018 компания Bethesda Softworks представила видео игрового процесса Doom Eternal — шутера от первого лица, разработанного студией id Software.

Samsung патентует носимое электронное устройство в форме браслета с гибким экраном
Samsung патентует носимое электронное устройство в форме браслета с гибким экраном ...

В базе данных патентного бюро США появилась заявка, поданная компанией Samsung. В ней описано носимое электронное устройство в форме браслета с гибким экраном.

Провайдеры готовят украинцам новое подорожание интернета
Провайдеры готовят украинцам новое подорожание интернета ...

Украинские интернет провайдеры готовят людей к очередной волне подорожания своих услуг. Компании будут по-разному выставлять счета. Но цена, на которой может остановится рост тарифов — это порядка 250 грн за 100 мегабит. Идти к ней будут поэтапно.

Google назвала дату презентации Android 9.0 P для смартфонов и планшетов
Google назвала дату презентации Android 9.0 P для смартфонов и планшетов ...

Следующей операционной системой для смартфонов и планшетов станет Android 9.0 P, которую «поисковой гигант» должен выпустить в этом году.

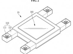
В Samsung придумали летающий планшет, управляемый взглядом
В Samsung придумали летающий планшет, управляемый взглядом ...

Бюро США по патентам и торговым маркам (USPTO) удовлетворило патентную заявку Samsung, которая описывает квадрокоптер со встроенным по центру дисплеем и камерой, способной распознавать движения человека.