Результаты поиска по сайту: «как на» — найдено 122893 записей
94% необнаруживаемого вредоносного ПО распространяется через web-приложения
94% необнаруживаемого вредоносного ПО распространяется через web-приложения ...

Большинство существующих антивирусных программ не способно обнаружить вредоносное ПО, загружаемое через web-приложения.

Самая быстрая флешка в мире
Самая быстрая флешка в мире ...

Intel на компьютерной выставке Computex 2013 представила прототип USB-накопителя с поддержкой технологии Thunderbolt. Созданная компанией "флешка" емкостью 128 гигабайт, выполненная в форм-факторе ключа, по скорости передачи данных во много раз превосходит аналоги.

Moto X обошел новые iPhone в краш-тестах
Moto X обошел новые iPhone в краш-тестах ...

Специалисты компании SquareTrade, известные своими краш-тестами электроники, проверили на прочность последние новинки рынка смартфонов. "Жертвами" энтузиастов на этот раз выступили "яблочные" аппараты iPhone 5S и iPhone 5C, а также Samsung Galaxy S4 и новейший смартфон Motorola - Moto X.

Украинский "Брейвик" ранее в Интернете провозгласил себя гетманом
Украинский "Брейвик" ранее в Интернете провозгласил себя гетманом ...

Александр Куренной объявил себя гетманом всей страны 29 декабря 2011 года

Российские силовики получают данные интернет-сервисов только по закону
Российские силовики получают данные интернет-сервисов только по закону ...

Российские спецслужбы могут получить доступ к серверам интернет-компаний, работающих на российском рынке, только по решению суда или на иных основаниях, предусмотренных действующим законодательством РФ, рассказали Digit.ru представители крупнейших игроков интернет-рынка.

Twitter расширяет географию функционирования и покоряет мобильники
Twitter расширяет географию функционирования и покоряет мобильники ...

Twitter, социальная сеть для обмена небольшими текстовыми сообщениями, продолжает искать новые рынки работы по мере того, как рост пользовательской базы в США стихает. По большому счету, компания подключила в Штатах уже почти всех, кого могла, так что в этой стране прирост пользователей будет отныне более медленным.

Plug заменит локальную файловую систему и объединит все компьютеры
Plug заменит локальную файловую систему и объединит все компьютеры ...

На Kickstarter успешно завершилась кампания по сбору денег на выпуск Plug — устройство, которое позволит объединить файлы на всех гаджетах и компьютерах пользователя. С Plug не нужно синхронизироваться вручную, закидывать на него файлы, пользоваться местом, выделенным в «облаке». Как он работает?

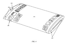
iPhone может получить «всесторонний» дисплей
iPhone может получить «всесторонний» дисплей ...

Стало известно, что Apple подала еще одну интересную патентную заявку, которая намекает на то, что следующие поколения iPhone могут значительно отличаться от текущих.

Windows Server 2012 R2 обещает новшества в системе хранения и в сетях
Windows Server 2012 R2 обещает новшества в системе хранения и в сетях ...

Ожидающая запуска операционная система Windows Server 2012 R2 предложит пользователям несколько новых продвинутых возможностей в области хранения данных и сетевых подключений. В Microsoft говорят, что ранее для того, чтобы реализовать подобные возможности пользователям требовалось покупать дополнительное программное обеспечение или полноценную систему хранения данных.

Молдаване с помощью Google maps и компаса пытались попасть в Словакию
Молдаване с помощью Google maps и компаса пытались попасть в Словакию ...

На днях пограничники задержали двух нелегалов из Молдовы, которые планировали попасть через Закарпатскую область в страны Евросоюза, сообщает пресс-служба Чопского пограничного отряда. Мужчины незаконно пытались пересечь границу со Словакией, однако им помешали пограничники отдела «Гута». Нелегалов помогла найти служебная собака, которая быстро взяла след нарушителей границы.