Результаты поиска по сайту: «iPhone» — найдено 34261 записей
Apple предлагает покупателям сдать свой Android-смартфон и получить новый iPhone в рассрочку
Apple предлагает покупателям сдать свой Android-смартфон и получить новый iPhone в рассрочку ...

Apple продолжает искать новые пути увеличения продаж iPhone – ключевого бизнеса калифорнийского гиганта. Одни называют это признаком снижения спроса на смартфоны, другие – стратегическим бизнес-ходом производителя.

Apple iPhone SE оснащён датчиком Touch ID прошлого поколения
Apple iPhone SE оснащён датчиком Touch ID прошлого поколения ...

Позавчера компания Apple представила смартфон iPhone SE, который сочетает в себе уже знакомый дизайн iPhone 5S и флагманские технические характеристики.

Почему кнопка Home в iPhone будет еще долго
Почему кнопка Home в iPhone будет еще долго ...

Помните всех этих аналитиков и «экспертов», которые пророчили исчезновение кнопки Home в iPhone? С выходом iOS 10 доверие к подобным утверждениям свелось практически к нулю — ответ на один из самых главных вопросов дала нам сама операционная система.

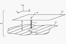
Apple запатентовала «iPhone будущего» с прозрачным экраном
Apple запатентовала «iPhone будущего» с прозрачным экраном ...

iPhone с прозрачным экраном и сенсорными возможностями с обеих сторон может стать прорывом на рынке мобильных устройств.

Apple изобрела «бесконечную» батарею для iPhone
Apple изобрела «бесконечную» батарею для iPhone ...

Бюро патентов и торговых марок США опубликовало патентную заявку Apple на регистрацию технологии, позволяющей заряжать беспроводные устройства через Wi-Fi. Эта разработка позволит обеспечить постоянный заряд аккумулятора при подключении к сети, говорится в документе, опубликованном на сайте ведомства.

LG готовит ответ iPhone SE – мини-версию флагмана LG G6 с 5,4-дюймовым экраном
LG готовит ответ iPhone SE – мини-версию флагмана LG G6 с 5,4-дюймовым экраном ...

В феврале этого года LG представила свой новый флагманский смартфон LG G6. При всех достоинствах «безрамочной» новинки, ее 5,7-дюймовый дисплей может показаться слишком большим. Если Apple специально для ценителей компактных моделей выпускает смартфон iPhone SE, то корейский производитель решил пополнить флагманскую серию моделью LG G6 Mini.

Чем Samsung будет бороться с iPhone 6s Plus
Чем Samsung будет бороться с iPhone 6s Plus ...

Новыми планшетофонами, превратившими в «тыквы» выпущенные всего полгода назад Galaxy S6 и Galaxy S6 Edge.

Первый iPhone с OLED-дисплеем может выйти уже в этом году
Первый iPhone с OLED-дисплеем может выйти уже в этом году ...

По сообщению источника, в декабре прошлого года компания Apple обратилась к Samsung и LG с вопросом, смогут ли они обеспечить поставку дисплеев OLED в количествах, необходимых для выпуска смартфона iPhone с экраном OLED в 2017 году. Как сообщает ETNews, сейчас на рынке развернулась настоящая борьба за место основного поставщика панелей для смартфонов, сумма заказов на которые может достичь $12 млрд.

iPhone SE: первые обзоры и впечатления
iPhone SE: первые обзоры и впечатления ...

В понедельник на первой в 2016 году презентации Apple компания решила не затягивать с презентацией нового 4-дюймового iPhone и вторую половину мероприятия начали именно с него. Однако сюрприза не случилось: внешне iPhone SE оказался практически копией iPhone 5s, но с характеристиками флагманских моделей iPhone 6s.

Впечатления владельца iPhone 5s после месяца использования Samsung Galaxy S7 edge
Впечатления владельца iPhone 5s после месяца использования Samsung Galaxy S7 edge ...

Бесспорно, каждая ОС имеет свои достоинства и недостатки, и споры о плюсах и минусах iOS не утихают с момента её появления.