Результаты поиска по сайту: «как на» — найдено 122894 записей
Twitter закрыл сервис с удаленными постами политиков
Twitter закрыл сервис с удаленными постами политиков ...

Twitter закрыл сайт Politwoops, позволявший прочитать удаленные твиты американских политиков, посчитав, что сервис нарушает правила компании. Об этом говорится в сообщении организации Sunlight Foundation, создавшей данный проект.

iPhone 6 Plus взорвался во время зарядки от адаптера для iPad
iPhone 6 Plus взорвался во время зарядки от адаптера для iPad ...

Жительница Гонконга по имени Тцанг подала жалобу компании Apple в связи с тем, что ее 128-гигабайтный iPhone 6 Plus взорвался во время зарядки. Она утверждает, что причиной могло стать короткое замыкание или перегрев аккумулятора гаджета.

Семь достижений Grand Theft Auto V попали в Книгу рекордов Гиннесса
Семь достижений Grand Theft Auto V попали в Книгу рекордов Гиннесса ...

Игра Grand Theft Auto V от Rockstar Games поставила семь рекордов, которые уже зафиксированы в Книге рекордов Гиннесса. Она стала самой продаваемой в течение 24 часов экшен-adventure и видеоигрой, а также развлекательным проектом и игрой, которые быстрее всех заработали миллиард долларов, и самой быстро распространяемой игрой.

Торрент-трекер RuTracker и онлайн-библиотека Flibusta могут быть навсегда заблокированы
Торрент-трекер RuTracker и онлайн-библиотека Flibusta могут быть навсегда заблокированы ...

Издательство «Эксмо» подало в Мосгорсуд иски против онлайновых библиотек Flibusta.net и Litmir.net, а также торрент-трекера Rutracker.org. Эти ресурсы стали первыми кандидатами на вечную блокировку в соответствии с новым «антипиратским» законом.

В сеть попали спецификации 64-битного смартфона Huawei Honor 4X
В сеть попали спецификации 64-битного смартфона Huawei Honor 4X ...

На сайте TENAA (сертификационное ведомство Китая) появилась информация о смартфоне Huawei Honor 4X, который, согласно предварительным данным, является недорогим устройством с поддержкой сетей LTE. Аппарат получил 64-битный процессор Snapdragon с тактовой частотой 1,2 ГГц, 2 ГБ оперативной памяти и 5,5-дюймовый HD-дисплей.

Из-за поисковых систем люди переоценивают уровень своего интеллекта
Из-за поисковых систем люди переоценивают уровень своего интеллекта ...

Согласно исследованию психологов Йельского университета, доступность систем вроде Google и Yahoo! заставляет людей ошибочно думать, что они умнее, чем есть на самом деле. Об этом сообщает The Telegraph.

Twitter пообещал защитить пользователей от троллей
Twitter пообещал защитить пользователей от троллей ...

Руководство сервиса микроблогов Twitter пообещало защитить своих пользователей от нападок троллей. Соответствующее решение, как сообщает ABC News, было принято после атаки недоброжелателей на аккаунт Зельды Уильямс — дочери покойного актера Робина Уильямса.

Многие партнеры готовы простить онлайн-измену своей половинки
Многие партнеры готовы простить онлайн-измену своей половинки ...

Недавно эксперты опубликовали опрос, в котором принимали участие более 5 тысяч женщин и мужчин. Тема опроса затрагивала вопрос интимной переписки одним из партнеров. У участников спрашивали, готовы ли они из-за этого развестись со своей второй половинкой.

Привычки пользователей – пароли будущего
Привычки пользователей – пароли будущего ...

Биометрическая идентификация и цифровые коды могут остаться в прошлом: смартфоны будут узнавать пользователя по тому, как тот ходит или работает с сенсорным экраном. Ученые работают над такими системами, чтобы сделать идентификацию владельца проще, а несанкционированный доступ – сложнее.

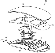
Патент Apple описывает мышь с датчиками силы нажатия и тактильной отдачей
Патент Apple описывает мышь с датчиками силы нажатия и тактильной отдачей ...

Apple подала очередную заявку в Бюро по патентам и товарным знакам США. В документе описывается мышь, наделённая способностью определять силу давления, с которой пользователь совершает каждый клик. Также мышь предоставляет тактильную отдачу при помощи вибромотора, информируя владельца о типе действия, которое он совершил щелчком мыши.