Samsung запатентовала «рулонный» ноутбук со скручиваемым дисплеем
Компания зарегистрировала патент на ноутбук с неординарной конструкцией. Он оснащён гибким экраном, но не складывается, подобно смартфонам, а сворачивается в рулон, занимая минимум места в «походном» положении. Документ, опубликованный WIPO, также демонстрирует предположительный дизайн оригинальной разработки.
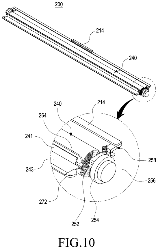
Судя по чертежам и другой сопроводительной документации, необходимой для заверения в патентном бюро, лэптоп с гибким дисплеем будет иметь рулонную конструкцию. Такое решение позволит ему принимать форму валика для удобства транспортировки и хранения.


Судя по тексту патента, для развёртывания устройства достаточно будет вытянуть дисплей вверх за специальную ручку над верхней рамкой. При этом из нижней части будет отдельно вытягиваться клавиатура — судя по эскизам, она будет сенсорной.

Как и в случае с другими патентами, технические характеристики и возможная дата анонса устройства неизвестны. Не исключено, что компания разработает и смартфон с подобной конструкцией, но официального подтверждения этой теории пока нет.