Samsung придумала складной смартфон с вращающейся камерой
Описание весьма любопытного смартфона Samsung было опубликовано на сайте Всемирной организации интеллектуальной собственности (World Intellectual Property Organization, WIPO).
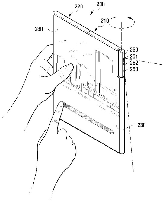
Южнокорейский гигант запатентовал очередной вариант дизайна смартфона в форм-факторе книжки. Для устройства предусмотрено использование гибкого дисплея, складывающегося внутрь корпуса.

Главная особенность новинки — вращающаяся многокомпонентная камера. Этот цилиндрический блок сможет поворачиваться на 180 градусов, благодаря чему пользователи смогут применять его для обычной съёмки и получения автопортретов (а также для видеотелефонии).


Блок может иметь разное расположение. К примеру, он может быть установлен по центру в боковой части или ближе к краю в верхней области.

Отмечается также, что камера сможет автоматически поворачиваться на основе показаний от датчика движения. Кроме того, ориентация модуля будет определяться тем, на какой угол раскрыт смартфон.

Впрочем, пока аппарат с предложенным дизайном существует только в патентной документации. Собирается ли Samsung создавать его коммерческую версию, не ясно.