Прежде чем заняться часами, Apple работала над очками виртуальной реальности
Apple создала именно Apple Watch, поскольку в компании посчитали, что запястье — самое подходящее место для носимой электроники. Так заявляет Джонатан Айв. Вторит ему и Тим Кук, рассказавший в одном интервью, что «умные» очки — не самое лучшее решение, так как далеко не всем пользователям захочется их надевать.

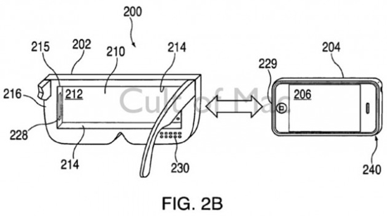
Однако прежде чем окончательно отказаться от идеи очков, в компании всё же детально проработали данное направление. Эта информация подтверждается появившимся сегодня в интернете патентом. Он описывает очки виртуальной реальности, которые должны работать как дополнение к iPhone. Отличительной особенностью таких очков является поддержка стереоскопического изображения.

Патент был получен в 2008 году, ещё до появления Siri. Тем не менее, описанные очки снабжены также и микрофоном, предназначенным для голосовых команд. Впервые же работы над подобным гаджетом начались в 2006 году. То есть ещё до начала продаж iPhone.

Интересно, что устройство, подобное описанному в патенте, в итоге появилось. Вот только выпустила его другая компания. А именно Samsung, что очки виртуальной реальности Samsung Gear VR были представлены общественности в 2014 году. Это устройство способно работать в паре в связке со смартфоном Samsung Galaxy Note 4. Для соединения используется проводное подключение.