Патент Apple описывает мышь с датчиками силы нажатия и тактильной отдачей
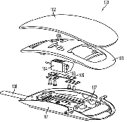
Apple подала очередную заявку в Бюро по патентам и товарным знакам США. В документе описывается мышь, наделённая способностью определять силу давления, с которой пользователь совершает каждый клик. Также мышь предоставляет тактильную отдачу при помощи вибромотора, информируя владельца о типе действия, которое он совершил щелчком мыши.
В качестве примера можно привести самый простой способ взаимодействия: при небольшом давлении мышь позволяет совершать такие действия как выбор файлов в Finder или на рабочем столе, а когда нажатие совершается с большей силой, сразу отрыть папку или файл. Такой подход позволяет отказаться от необходимости совершать двойные щелчки или щелчки правой клавишей мыши.


Дизайн запатентованного продукта Apple напоминает мышь Magic Mouse, уже 5 лет присутствующую на рынке. Дополнение существующего сенсорного управления силой нажатия и виброоткликом позволит обогатить процесс управления компьютером и компенсировать недостатки отсутствия механических кнопок. Виброотдача позволит не только информировать пользователя о произведённом действии, например, лёгком или сильном нажатии, но может применяться и для других уведомлений.