Новый патент рассекретил "умное" кольцо Google со встроенной камерой
Google не особо известна как производитель “железа”. Да, у компании имеется и смартфонная линейка (привет, Google Pixel), выпускает компания и смарт-колонки. Но, видимо, Google этого мало — новый патент рассекретил “умное” кольцо со встроенной камерой, разработкой которого прямо сейчас занимается технологический гигант.
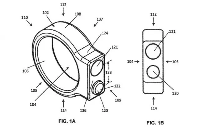
Изначально заявка на регистрацию документа была подана еще в мае 2019 года, но известно о ней стало только 10 ноября 2020 года, сообщает Softpedia news. В описании патента говорится, что размер кольца достаточный, чтобы поместить в нем человеческий палец. При этом, судя по всему, речь идет о большом пальце — именно там пользователь должен будет носить девайс.

Стоит отметить, что в документе также сообщается, что смарт-кольцо будет иметь встроенную в корпус камеру и своеобразное устройство ввода. К сожалению, пока что никаких дополнительных подробностей о функциональности девайса либо примерной даты его выхода в сети нет. Неизвестна и цена первого “умного” кольца от Google.