Новой Apple TV можно будет управлять при помощи жестов
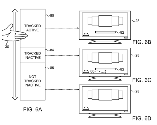
Чем ближе июньская конференция разработчиков WWDC, тем больше информации появляется про возможные функции Apple TV. Ранее были слухи о сенсорном пульте ДУ для приставки и даже концепты такого устройства. Позже появилась информация о том, что Apple Watch могут быть использованы как главное средство ввода для Apple TV. Сегодня был опубликован очередной патент, описывающий управление интерфейсом телевизора и компьютера при помощи жестов в воздухе.
Скорее всего, для распознавания движений будет использоваться лазерный проектор, подобный тому, что установлен в Kinect. Но отличия от продукта Microsoft будут. В патенте Apple не упоминается обычная камера, которая есть в сенсоре для Xbox. Видимо, разработчики Kinect, купленные Apple пару лет назад, смогли усовершенствовать технологию и полностью отказаться от обычных камер в устройстве.


Основываясь на недавней новости о приостановке работ над телевизором, перспектива появления такого сенсора в продаже становится более туманной. Ведь наилучшим сценарием использования жестов все-таки остается большой экран посреди комнаты, перед которым на диване сидит человек. А когда у тебя под рукой есть мышка с клавиатурой, делать дополнительные жесты в воздухе не хочется. Существуют шансы, что такой сенсор будет поставляться в виде отдельного продукта, но никаких намеков на это пока не было.