Новый патент для Touch ID существенно расширяет его функциональность
Бюро по регистрации патентов и торговых марок США опубликовало новый патент компании Apple. Патент расширяет возможности Touch ID, позволяя использовать его в качестве дополнительного сенсорного элемента для ввода номера или определённого паттерна для разблокировки.
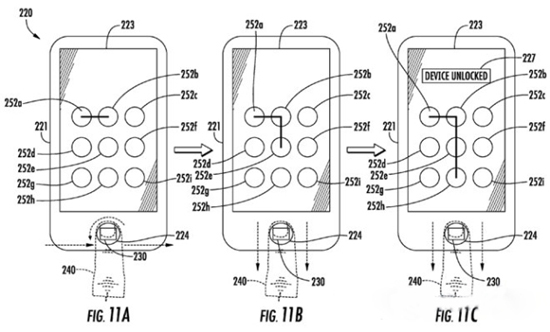
Согласно патенту, пользователь должен установить свой палец на Touch ID для разблокировки. После этого появится дополнительный экран с колесом для ввода цифр (как на старых телефонах) или для ввода паттерна блокировки (как на устройствах Google). Проводя пальцем по Touch ID можно будет взаимодействовать с этими элементами.

С выходом iPhone 6 Plus компания уже расширила возможности Touch ID. К примеру, теперь двойной тап по элементу активирует функцию Reachbility. В теории у Touch ID может быть множество применений, как у трэкпада в устройствах BlackBerry.
Также новые возможности Touch ID могут позволить быстро запускать приложения с его помощью. Патент был внесён Дэйлом Сетлаком, соучредителем AuthenTec, компании, которую купила Apple для разработки Touch ID.