Новый патент Apple - датчики освещённости в OLED-экране
Бюро по регистрации патентов и торговых марок США в четверг опубликовало патентную заявку Apple на OLED экран со встроенными датчиками, которые позволят динамически регулировать яркость различных областей экрана, компенсируя неравномерность внешнего освещения или потерю яркости светодиодов из-за старения. Apple ещё даже не использует технологию OLED в своих устройствах, но уже занимается решением возможных проблем, которые свойственны экранам этого типа, а именно - выгорание светодиодов со временем. Также, патент содержит описание технологии компенсации внешнего освещения.
OLED имеет целый ряд преимуществ перед жидкокристаллическими экранами, используемыми в большинстве устройств, относящихся к потребительской электронике. Одно из главных заключается в том, что OLED экран сам излучает свет, а не избирательно пропускает определённые цвета. Поэтому дисплеи, выполненные по технологии OLED тоньше и легче их LCD-собратьев, ничем не уступая им в цветопередаче, яркости и углах обзора. К тому же, согласно другому патенту Apple, OLED — дисплеи могут размещаться как на твёрдых, так и на гибких поверхностях.

Существенный недостаток OLED по сравнению c LCD заключается в том, что такие экраны быстрее деградируют — часто используемые светодиоды «стареют» быстрее других, что ведёт к неоднородности отображаемой картинке. Такой эффект получил название «устойчивость изображения».
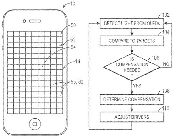
Патент Apple под названием «Система из органических светодиодов с фотодиодом» описывает метод установки датчиков света поверх, под, или на одном уровне со слоем органических светодиодов с целью измерения и дальнейшей компенсации изменений матрицы. В некоторых вариантах фотодиоды расположены только в определённых зонах экрана, тогда как в других они равномерно распределены по всей площади.

На основании данных, поступающих от фотодиодов, контроллер может определить различие в качестве картинки на разных участках экрана. Также, если внешнее освещение неяркое, или отсутствует, контроллер может соответственно подстроить яркость экрана.
Но ведь iOS-устройства и раньше могли динамически подстраивать яркость экрана? В чём же новизна? — Поскольку датчики расположены непосредственно в самом экране, это улучшает точность определения и скорость срабатывания такой системы.
Также, в патенте уделяется внимание и тому, что в некоторых случаях одного датчика освещённости может быть недостаточно, например, когда часть экрана закрыта или на неё падает тень. Используя новую технологию можно сделать затемнённую часть экрана менее яркой и продлить время работы от батареи.

Также, встроенные фотодиоды позволят отслеживать старение OLED и контроллер сможет изменить яркость «сгоревших» пикселей, что сделает картинку на экране равномерной, независимо от срока службы.
Возможно и другое применение технологии — во время разговора датчики будут отключать только те участки экрана, которые непосредственно находятся в контакте с пользователем, оставляя видимые участки включёнными.
Патентная заявка была подана в 2012 году, как изобретатели заявлены: Стефен Брайан Линч (Stephen Brian Lynch), Пол Стефен Дрзэйк(Paul Stephen Drzaic), Бенджамин Марк Раппопорт (Benjamin Mark Rappoport), Флэтчер Р. Роткопф (Fletcher R. Rothkopf), Джон Патрик Тернус (John Patrick Ternus) и Скотт Эндрю Майерс (Scott Andrew Myers).