Новая технология Apple позволит превратить любую поверхность в сенсорный экран
Apple разрабатывает технологию, которая позволит превратить в тачскрин любую ровную поверхность. Соответствующий патент зарегистрировало на этой неделе Бюро патентов и торговых знаков США.
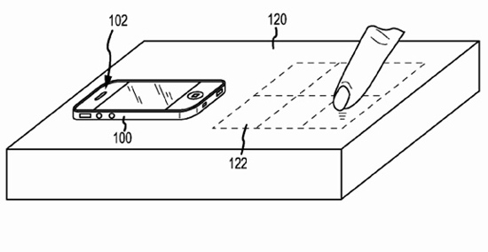
Согласно описанию патента под названием «iPhone Frequency Sensor/Magnifier Application», эффект достигается за счет считывания положения человеческой руки специальными сенсорами, интегрированными в мобильные устройства. Инженеры купертинской компании утверждают, что сочетание датчиков внутри гаджетов, реагирующих на акустические сигналы и вибрации, позволит превратить в сенсорный экран что угодно. Достаточно положить iPhone на плоскую поверхность.
Функционально такой сенсорный дисплей будет работать так же, как типичный тачскрин: пользователь сможет управлять функциями устройства, набирать текст, просматривать веб-страницы, управлять музыкой, перелистывать страницы в электронных книгах, масштабировать изображения. Интерфейс управления объектами на дисплее будет тесно переплетен с экранным UI.

В патенте отмечается, что iPhone сможет создать на столе виртуальную клавиатуру. Благодаря этому, пользователю не придется носить с собой обычную громоздкую клавиатуру, а набирать текст таким образом удобнее, чем на небольшом дисплее телефона.
О сроках практической реализации запатентованной технологии не сообщается.