Новая док-станция Apple с подвижными коннекторами предотвратит поломку разъемов
Бюро патентов и торговых марок США выдало Apple патент на новую док-станцию с уникальным разъёмом и поворотным механизмом. Запатентованная конструкция может найти применение в фирменных док-станциях для смартфонов и планшетов «яблочного» бренда.
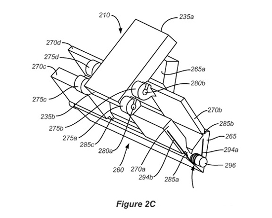
Заявка на инновационный док была подана Apple в октябре 2012 года. В патенте подробно описывается док-станция для мобильных устройств с прочным подвижным соединительным разъёмом. Как следует из описания технологии, в Купертино предлагают использовать в подставках подвижный коннектор, который автоматически выдвигается и изменяет угол наклона при установке и отключении устройства. Это позволяет избежать случайного повреждения мобильного устройства.

Специальный механизм позволит существенно снизить вероятность поломки док-станции и подключаемого к ней смартфона или планшета. Сейчас нередки случаи, когда подставка и разъём аппарата выходят из строя из-за неправильного подключения/отключения. Главным разработчиком запатентованной Apple системы является инженер Крейг Стэнли.

Когда подобные док-станции для iPhone и iPad будут представлены официально, не сообщается.