Ноутбуки Apple следующего поколения получат клавиатуру с сенсорными кнопками-экранами
По задумке специалистов Apple, каждая из кнопок на ноутбуках MacBook будет оснащена миниатюрным дисплеем, изображение на котором сможет изменяться в зависимости от режима работы.
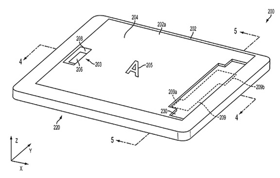
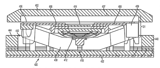
Бюро патентов и торговых марок США опубликовало новую заявку Apple, которая описывает компьютерную клавиатуру с кнопками-экранами. В рамках патента «Многофункциональные варианты сборки клавиатуры» инженеры предлагают использовать для клавишного блока технологию ЖК-дисплеев.

В каждую кнопку будет встроен миниатюрный экран, изображение на котором сможет изменяться в зависимости от режима работы. К примеру, в текстовом редакторе это могут быть изображения букв и цифр, в программе для работы с графикой — пиктограммы операций. Также клавиши могут быть запрограммированы на запуск конкретных программ, например, iPhoto, Safari и других.

Преимуществом реализации Apple является способность клавиатуры воспринимать тактильные прикосновения – кнопки будут сенсорные и смогут реагировать на жесты «свайп», «пинч» и другие. При этом, как отмечается, клавиши получат стеклянное покрытие, что сделает их более прочными, чем пластиковые аналоги.
О сроках появления MacBook Air и MacBook Pro с сенсорными клавишами-дисплеями ничего не известно.