На Apple подали в суд за кражу технологии зарядки iPhone и iPad
Американская фирма Somaltus LLC подала в суд на компанию Apple. Она требует с корпорации отчисления за незаконное использование технологии зарядки аккумуляторов iPhone, iPad и других устройств.
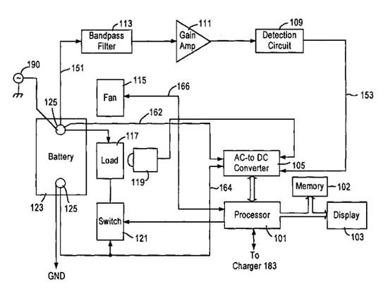
В Somaltus утверждают, что в гаджетах Apple применяется система зарядки, патент на которую принадлежит техасской компании. Речь идет о документе под названием «Интегрированная сервисная система аккумулятора» (Integrated Battery Service System). В патенте описан способ контроля уровня заряда батареи в процессе зарядки, являющийся, как утверждается, интеллектуальной собственностью Somaltus.
«В iPhone реализована система зарядки, в рамках которой устройство использует быструю зарядку до тех пор, пока емкость батареи не достигнет 80%. Затем включается режим подзарядки, – пояснили юристы Somaltus. – Когда заряд батареи опускается ниже 80%, система вновь переключается на быстрый режим».
Такой способ передачи используется во многих электронных устройствах, позволяя продлить срок жизни источников питания. Эксперты полагают, что если Apple проиграет суд Somaltus, подобные иски ожидают многие другие компании.

В прошлом году Somaltus подала в суд на Ford, Nissan и трех других автопроизводителя, выпускающих электромобили. В иске говорилось, в частности, что в гибридных машинах Ford Fusion, Nissan Altima используется запатентованная технология «Интегрированной сервисной системы аккумулятора». Все пять ответчиков в итоге пошли на мирное соглашение, условие которого не раскрывается.