MacBook сможет заряжать iPhone и Apple Watch без проводов
Apple работает над новшествами для ноутбуков MacBook, которые могут оказаться очень полезными для пользователей iPhone и Apple Watch.
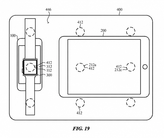
Компания получила пару патентов, описывающих возможность беспроводной зарядки мобильных устройств от ноутбука. Иллюстрации показывают, что пользователь сможет просто положить iPhone, iPad или Apple Watch на поверхность ноутбука, чтобы началась беспроводная зарядка.

Гаджеты можно расположить около с трекападом или на крышек ноутбука в сложенном состоянии. Такое решение может оказаться особенно полезным в мобильных условиях, когда доступ к розетке отсутствует.

Как это обычно бывает, пока неясно, когда мы сможем увидеть реализацию разработок на полках магазинов.