LG раздумывает над «умным» браслетом с гибким дисплеем
Управление США по патентам и торговым маркам (USPTO) выдало компании LG Display патент на любопытное носимое устройство.
В документе речь идёт об электронном браслете, предназначенном для ношения на запястье. Такое устройство предлагается оснастить гибким дисплеем.
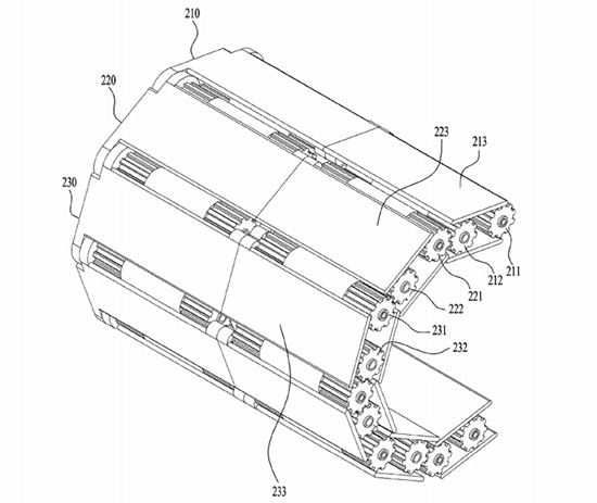
В документе описывается механическая конструкция гаджета. Как можно видеть на иллюстрациях, устройство будет состоять из ряда звеньев, соединённых друг с другом специальным креплением. Их будет накрывать гибкий экран.
По задумке LG, пользователи смогут изгибать гаджет по своему усмотрению или придавать ему полностью плоскую форму для работы, скажем, на столе.

Любопытно, что в патенте рассматриваются несколько возможных конфигураций смарт-браслета. В одном из вариантов он имеет относительно небольшую ширину. Другая версия предусматривает создание некоего гибрида браслета и гибкого смартфона, оборачиваемого вокруг запястья.

Заявка на патент была подана в конце 2017 года, а зарегистрирован документ всего несколько дней назад. Собирается ли LG выпускать коммерческие гаджеты с описанной конструкцией, пока не ясно.