Lenovo запатентовала ноутбук с гибким тройным экраном

Lenovo запатентовала ноутбук с гибким тройным экраном

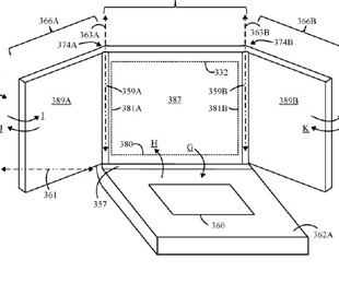
Компания Lenovo получила патент на ноутбук с тремя дисплеями — одним основным и двумя дополнительными в виде «ушей». Заявка была оформлена еще в 2016 году. В ней описывается устройство с гибким экраном из OLED-панелей, которые могут раскладываться полностью. В этом случае устройство получает два дисплея — спереди и позади основного.

Гибридный ноутбук оборудован парой камер и как минимум одним микрофоном. В документах отмечается, что аналогичная конструкция может использоваться не только для компьютеров, но и для смартфонов, а также планшетов.

Над созданием мобильных устройств с гибкими экранами работают многие крупные компании, среди которых Samsung, Huawei, Oppo и некоторые другие. Ожидается, что Samsung и Huawei могут представить такие девайсы до конца текущего года.

Напомним, в прошлом году компания Razer представила на выставке CES 2017 ноутбук Project Valerie, оборудованный сразу тремя экранами с общей диагональю 17,3 дюйма и суммарным разрешением в 11520×2160 пикселей. Во время выставки его украли, но позже лэптоп засветился на одном из китайских аукционов.

Источник: tech.onliner.by