Кнопке Home скоро можно будет сказать «прощай»?
Каким может быть iPhone без физической кнопки Home? На этот вопрос уже пытались ответить сотни дизайнеров, но ни один из их прототипов в конечном счете не увидел свет. Как показал пример с Apple Watch, в Купертино свое видение по каждому новому продукту. И, похоже, до кнопки Home инженеры вскоре все же доберутся.
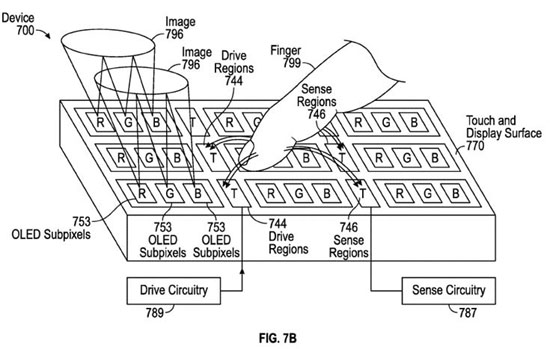
Новый патент Apple описывает сенсорный OLED-дисплей с расширенными функциями вроде инструментов для защиты от электростатического разряда и специального датчика инфракрасной области. Но любопытнее всего то, что данный дисплей будет обладать возможностями дактилоскопического ввода — иными словами, он сможет сканировать отпечатки пальцев пользователя.

Сейчас Touch ID — одна из главных причин, по которой Apple не убирает кнопку Home из iPhone. Да, это также удобный способ выйти на домашний экран, а также ввести устройство в DFU, но и это вполне можно реализовать другими способами. В конце концов, другим производителям удалось создать удобную навигацию, опираясь исключительно на сенсорные кнопки.
Конечно, дисплей от Apple будет кардинально отличаться от других — не зря компания патентует данную технологию. Кстати, сам патент появился давно, но был засекречен и опубликован на сайте патентного ведомства США совсем недавно. Неужели в Apple созрели на такой смелый шаг в iPhone 7?
Не исключено также, что это просто очередной патент «яблочного» гиганта, который если и увидит свет, то сделает это только через пять лет.