Кнопка Home в iPhone может получить новые функции
Очередной любопытный патент Apple.
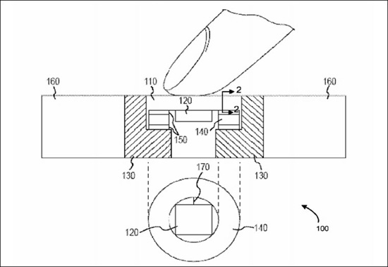
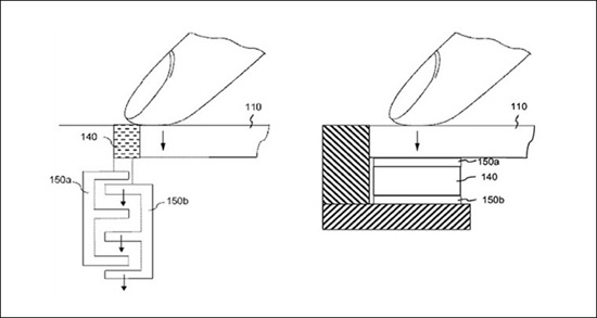
Патентное бюро США зарегистрировало новую «яблочную» заявку под названием «Чувствительный к силе нажатия сканер отпечатков пальцев». Документация, прилагающаяся к заявке, описывает возможность размещения дополнительных датчиков под кнопкой iPhone.

В смартфонах и планшетах Apple следующих поколений кнопка Home сможет распознавать силу нажатия и будет похожа на тачпады с Force Touch.

В iOS уже есть необходимые наработки, которые реализуют различные действия для обычного и сильного нажатий на экран iPhone. Как показала практика, дополнительная возможность быстро совершать определенные действия приводит к более удобному использованию гаджета.