Камеры нового поколения от Samsung смогут снимать в условиях очень низкой освещённости
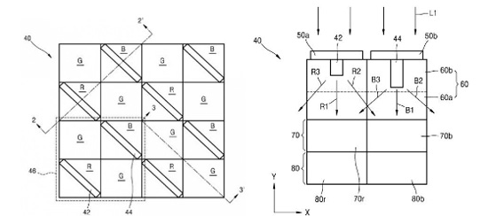
Samsung запатентовала новую технологию, которая позволит добиться лучших снимков с камеры в условиях низкой освещённости. Разработка заключается в добавлении к сенсору камеры разветвителя цветов, который уменьшит количество шумов и улучшит цветопередачу в сравнении с обычными фильтрами, которые приводят к значительным потерям световой энергии. Технология в новом патенте разделяет свет на два отдельных луча, что позволит избежать потерь, так как сенсор будет обрабатывать волны различной длины не одновременно.

Цветопередача улучшается из-за того, что свет разделяется на красные и синие субпиксели, а также красные, зелёные и синие пиксели из спектра RGB. Помимо этого, такое решение позволит уменьшить шум на фото при более высоких показателях ISO.

Разработка Samsung находится на стадии патента, поэтому до её применения в реальных устройствах может пройти много времени.