Как Apple будет использовать "жидкий" металл
В июне прошлого года мы рассказывали, что Apple продлила сделку с Liquidmetal Technologies, согласно которой американская имеет эксклюзивные права на металлические сплавы, выполненные по технологии Liquidmetal. Считалось, что из этого материала будет выполнена клавиша «Домой» у будущих iPhone. Сегодня мы получили подтверждение этих слухов. Вчера Apple получила около 40 патентов, один из документов описывает различные варианты использования Liquidmetal в клавише «Домой», а также связанные с этим выгоды. Напомним, что данный сплав отличается повышенной прочностью, стойкостью против коррозии, легкостью и ковкостью.
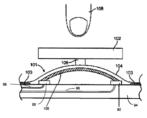
Что касается применения в клавише «Домой», благодаря легкости и эластичности Liquidmetal является идеальным материалом для кнопки, умеющей распознавать силу нажатия. Под давлением клавиша из Liquidmetal будет немного деформироваться, а затем возвращаться в свое обычное состояние. Например, титан или нержавеющая сталь не смогут восстанавливать форму постоянно, со временем деформация станет необратимой. Тот факт, что Apple регулярно обновляет патент на Liquidmetal говорит о том, что компания серьезно думает над использованием данного материала, но в этом году необычный сплав в iPhone и iPad ждать не стоит.
