«Жидкий металл» в будущих iPhone
Еще в 2010 году Apple подписала эксклюзивный контракт с Liquidmetal Technologies на использование их инновационных сплавов в потребительской электронике. Первое тестирование в яблочных продуктах попало на iPhone 3g: ключ для вынимания SIM-карты был сделан из жидкого металла. Сейчас Apple зарегистрировала еще несколько патентов на методы применения этого сплава.



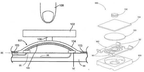
Первый патент описывает технологию применения сплавов от Liquidmetal в кнопках и переключателей устройств, что обеспечит более долгую работу этих деталей. В чертежах есть кнопка Home, сделанная из жидкого металла. Благодаря его эластичности и способности восстанавливать форму, запчасти будут служить дольше.
Второй патент, отправленный в середине декабря, описывает болты с защитой от несанкционированного вскрытия. Благодаря свойствам материала, резьба буквально сливается воедино.
Третий патент касается использования жидкого металла в тач-сенсорах дисплея. Внедрение сплава в технологию позволит создать более высокую сетки касания, что увеличит точность при работе с ним.