iPhone смогут автоматически управлять громкостью звонка в зависимости от местоположения
Бюро патентов и торговых марок США во вторник выдало Apple патент на очередную интеллектуальную технологию для применения в смартфонах iPhone. Речь идет о документе под номером 8552859, который описывает работу адаптивной системы оповещения устройства в зависимости от окружающих условий.

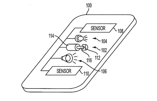
В патенте «Самоадаптирующаяся система оповещения» говорится, что iPhone сможет самостоятельно регулировать уровень громкости, например, в ситуациях, когда смартфон просто лежит на столе или пользователь приложил устройство к уху. Реализация этой технологии предусматривает автоматическое включение громкой связи, настройку уровня звука, активацию выбровызова.
Потенциальным применением технологии является реализация функции автоматической регулировки громкости звонка в зависимости от окружающих условий. К примеру, если обладатель iPhone находится в шумном месте – на вечеринке или концерте – то телефон автоматически прибавит звук, а в тихой комнате, наоборот, снизит до комфортного уровня. То же касается ситуаций, когда пользователь положил смартфон в сумку или в карман.

Apple подала заявку на патент в 2011 году. Описанная разработка функционирует на основе встроенных датчиков iPhone – микрофона, сенсоров приближения и освещения, акселерометра, гироскопа и других.
О сроках практической реализации описанной в патенте технологии не сообщается.